EasyManua.ls Logo

Mazda 2002 6 - Page 1168

Mazda 2002 6
1248 pages
Print Icon
To Next Page IconTo Next Page
To Next Page IconTo Next Page
To Previous Page IconTo Previous Page
To Previous Page IconTo Previous Page
Loading...
U20
BASIC SYSTEM
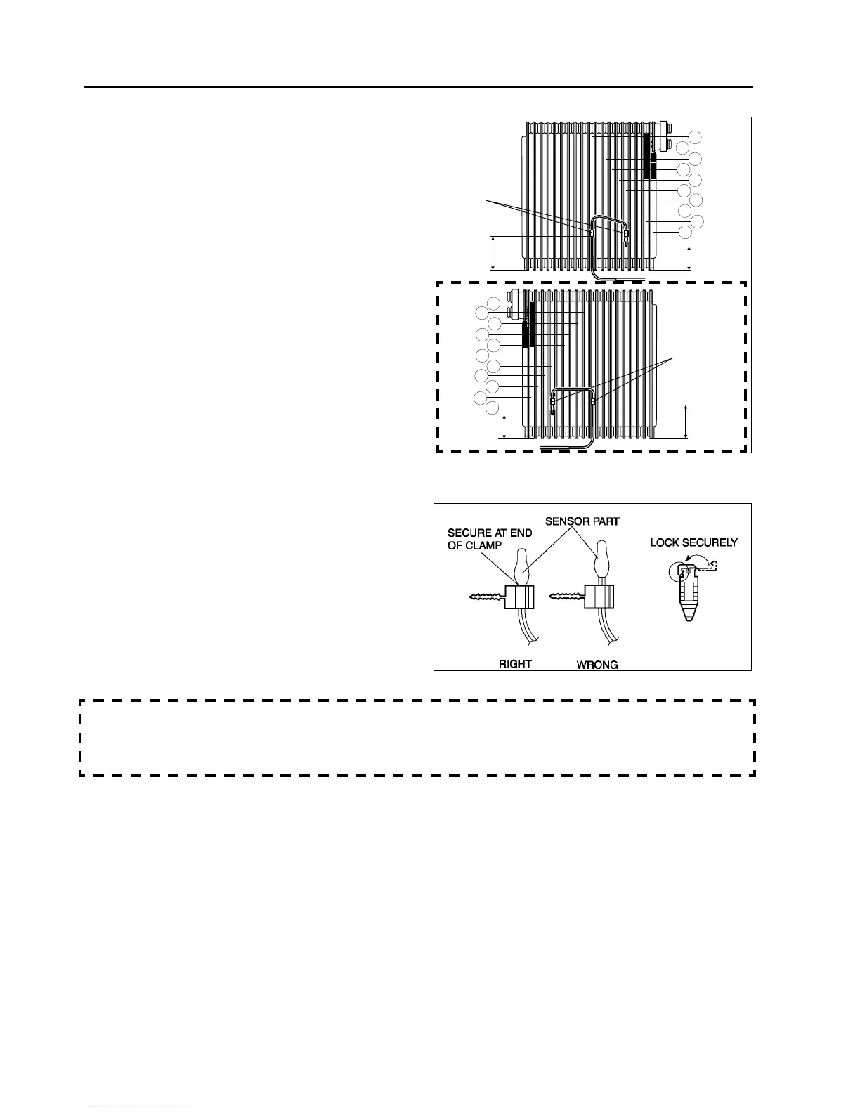
Evaporator Temperature Sensor Assembly Note
1. Assemble the evaporator temperature sensor as
shown in the figure.
Sensor Clamp Assembly Note
1. Attach the sensor clamp as shown in the figure.
A/C Case Assembly Note
Before assembling the A/C case, apply sealant (one-component, non-solvent, non-alcohol type) to the groove
along the joint where A/C case (1) and A/C case (3) are joined. Make sure to apply sealant completely around
the whole periphery of the joint, and that there are no gaps.
End Of Sie
3545 mm
{1.41.7 in}
L.H.D.
5
4
3
1
2
5565 mm
{2.22.5 in}
SENSOR
CLAMP
9
8
7
10
6
R.H.D.
SENSOR
CLAMP
3545 mm
{1.41.7 in}
4757 mm
{1.92.2 in}
5
4
3
1
2
9
8
7
10
6
11
B6E8516W007
A6E8516W007

Table of Contents

Other manuals for Mazda 2002 6

Related product manuals