EasyManua.ls Logo

YASKAWA V1000 Series

YASKAWA V1000 Series
372 pages
To Next Page IconTo Next Page
To Next Page IconTo Next Page
To Previous Page IconTo Previous Page
To Previous Page IconTo Previous Page
Loading...
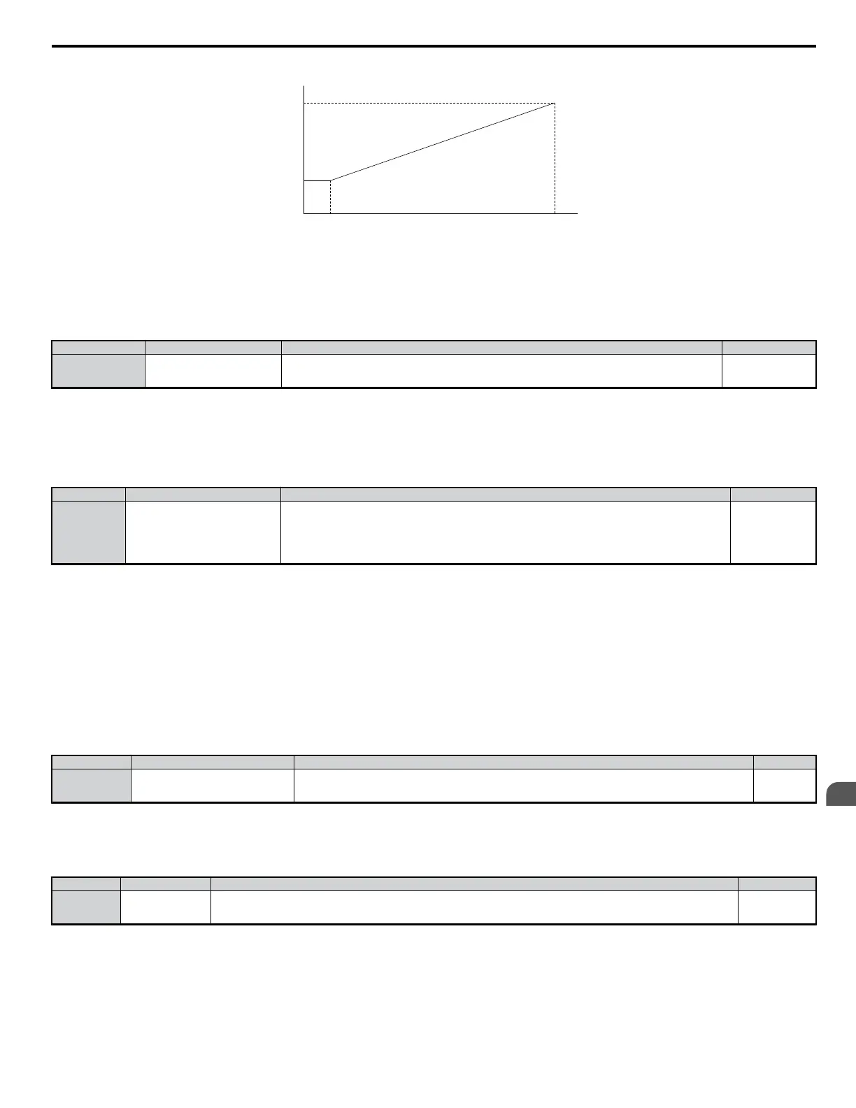
Minimum Output Frequency
100%
(Max Output Frequency)
Output Frequency
When Stop Command
is Entered
Run Wait Time t
Decel Time
(C1-02)
Minimum
Baseblock Time
(L2-03)
*
*This value is C1-02 or the selected deceleration time.
n
b1-04: Reverse Operation Selection
For some applications, reverse motor rotation is not appropriate and may even cause problems (e.g., air handling units, pumps, etc.). Setting parameter
b1-04 to 1 will cause the drive to ignore any inputs for reverse operation. .
No. Name Setting Range Default
b1-04 Reverse Operation Selection
Sets the forward rotation of the motor, and if reverse operation is disabled.
0: Reverse enabled.
1: Reverse disabled.
0
Note: The default setting for b1-04 is 0, which allows reverse operation. To prohibit the drive from operating in reverse, set b1-04 to “1”.
n
b1-07: LOCAL/REMOTE Run Selection
When the drive is switched between the LOCAL (operation using the digital operator) to REMOTE (these settings are determined by b1-01 and b1-02),
there is the possibility that a run command is already present (i.e., a switch closure between S1 and SN when b1-02 = 1). Parameter b1-07 determines
what the drive will do if a run command is still present when switching between LOCAL and REMOTE.
No. Name Setting Range Default
b1-07 LOCAL/REMOTE Run Selection
Determines how the drive will interlock when the source of the run command switches from LOCAL to REMOTE.
Note that one of the H1 parameters be set to 2 in order to use this function.
0: Cycle External RUN - If the run command is closed when switching from LOCAL to REMOTE, the drive will
not run. The run command must first be shut off and then entered again in order to operate the motor.
1: Accept External Run - If the run command is closed when switching from LOCAL to REMOTE, the drive will
run.
0
Detailed Description
0: If the run command is closed when switching from LOCAL or alternative reference to REMOTE, the drive will not run.
The drive ignores an external run command until it is removed and re-instated.
1: If the run command is closed when switching from LOCAL or alternative reference to REMOTE, the drive will run.
The drive accepts a run command if it is already present and immediately begins accelerating to the specified frequency reference.
WARNING! The drive may start unexpectedly if switching from LOCAL to REMOTE when b1-17 = 1. Clear all personnel away from rotating machinery and electrical connections
prior to switching between LOCAL and REMOTE. Failure to comply may cause death or serious injury.
n
b1-08: Run Command Selection while in Programming Mode
As a safety precaution, the drive will not normally respond to a run input when the digital operator is being used to adjust parameters. If it is necessary to
recognize external run commands while programming the drive, set b1-08 to “1”.
No. Name Setting Range Default
b1-08
Run Command Selection while in
Programming Mode
0: Disabled - Run command accepted only in the operation menu.
1: Enabled - Run command accepted in all menus.
2. Prohibit entering programming mode during run.
0
Note: Refers collectively to the Verify Menu, the Setup Mode, Parameter Settings Mode, and Auto-Tuning.
n
b1-14: Phase Order Selection
Sets the phase order for drive output terminals U/T1, V/T2, and W/T3.
No. Name Setting Range Default
b1-14 Phase Order Selection
Sets the phase order for drive output terminals U/T1, V/T2 and W/T3.
0: Standard
1: Switch phase order
0
n
b1-15: Frequency Reference Selection 2
Refer to the detailed description for parameter b1-01.
5.2 b: Setup
YASKAWA ELECTRIC SIEP C710606 18A YASKAWA AC Drive – V1000 Technical Manual (Preliminary)
115
5
Parameter Details

Table of Contents

Other manuals for YASKAWA V1000 Series

Related product manuals