EasyManua.ls Logo

YASKAWA V1000 Series

YASKAWA V1000 Series
372 pages
To Next Page IconTo Next Page
To Next Page IconTo Next Page
To Previous Page IconTo Previous Page
To Previous Page IconTo Previous Page
Loading...
100%
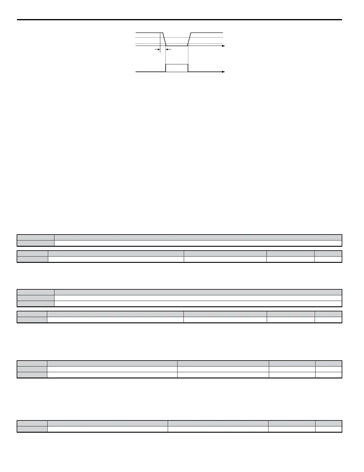
T
analog
frequency
reference
Loss of
Reference
output
time
80%
10%
T = 400 ms
ON
OFF
Figure 5.57 Loss of Reference Function
Setting D: Dynamic Braking Resistor Overheat
When the dynamic braking resistor (DB) overheats or the braking transistor is in a fault condition, the DB Overheat configured digital output will close.
Setting E: Fault
The Fault configured digital output will close whenever the drive experiences a fault (this excludes faults CPF00 and CPF01).
Setting F: Not Used
Use this setting when the terminal is not used or when using the terminal as a through-put.
Setting 10: Minor Fault
Output closes when a minor fault condition is present.
Setting 11: During Fault Reset
Output closes whenever there is an attempt to reset a fault situation from the control circuit terminals, via serial communications, or using a communications
option card.
Setting 12: Timer Output
Used in conjunction with a multi-function digital input programmed for the timer function. Output closes after the input closes and the time set to b1-04
pass.
Note: For more information on the various timer functions,
Refer to b4: Delay Timers on page 122
Setting 13: Speed Agree 2
Output closes whenever the output frequency is equal to or below the value of the programmed Speed Agree Level. The Speed Agree Width (L4-04) is
the hysteresis to Frequency Detection 2.
Status Description
Closed Output currents matches the frequency reference +/- L4-04
No. Parameter Name Setting Range Default Page
L4-04 Speed Agreement Detection Width (+/-) 0.0 to 20.0 2.0 Hz
Setting 14: User Speed Agree 2
Output closes whenever the actual output frequency and the frequency reference are within the Speed Agree Width (L4-04) of the specified Speed Agree
Level (L4-03). User Speed Agree 2 output is direction sensitive according to the direction programmed in L4-03.
Status Description
Open Output frequency and the frequency reference do not match (or the drive is stopped).
Closed Output currents matches the frequency reference +/- L4-04
No. Parameter Name Setting Range Default Page
L4-04 Speed Agreement Detection Width (+/-) 0.0 to 20.0 2.0 Hz
Setting 15: Frequency Detection 3
Output will be closed whenever the output frequency is equal to or below the value of the specified Speed Agree Level (L4-03). The Speed Agree Width
(L4-04) is the hysteresis to the Frequency Detection 3 function. Whenever the output frequency approaches the Speed Agree Level while accelerating, it
will need to be equal to or exceed the Speed Agree Level (L4-03) plus the Speed Agree Width (L4-04) before the Frequency Detection 3 output will be
activated.
No. Parameter Name Setting Range Default Page
L4-03 Speed Agreement Detection Level (+/-) -400.0 to 400.0 0.0 Hz
L4-04 Speed Agreement Detection Width (+/-) 0.0 to 20.0 2.0 Hz
Note: During acceleration, the terminal set for Frequency Detection 3 will close if the output frequency is greater than the frequency detection level (L4-03) and the frequency
detection width (L4-04). During deceleration, the terminal set for Frequency Detection 3 will close as long as the output frequency is less than the frequency detection level
(L4-03). The output for Frequency Detection 3 is direction sensitive according to the direction programmed in L4-03.
Setting 16: Frequency Detection 4
Output closes whenever the output frequency is equal to or above the value of the specified Speed Agree Level (L4-03). The Speed Agree Width (L4-04)
is the hysteresis to the Frequency Detection 4 function.
No. Parameter Name Setting Range Default Page
L4-03 Speed Agreement Detection Level (+/-) -400.0 to 400.0 0.0 Hz
5.7 H: Terminal Functions
176
YASKAWA ELECTRIC SIEP C710606 18A YASKAWA AC Drive – V1000 Technical Manual (Preliminary)

Table of Contents

Other manuals for YASKAWA V1000 Series

Related product manuals