EasyManua.ls Logo

GE Mark VIeS - Page 123

GE Mark VIeS
486 pages
Print Icon
To Next Page IconTo Next Page
To Next Page IconTo Next Page
To Previous Page IconTo Previous Page
To Previous Page IconTo Previous Page
Loading...
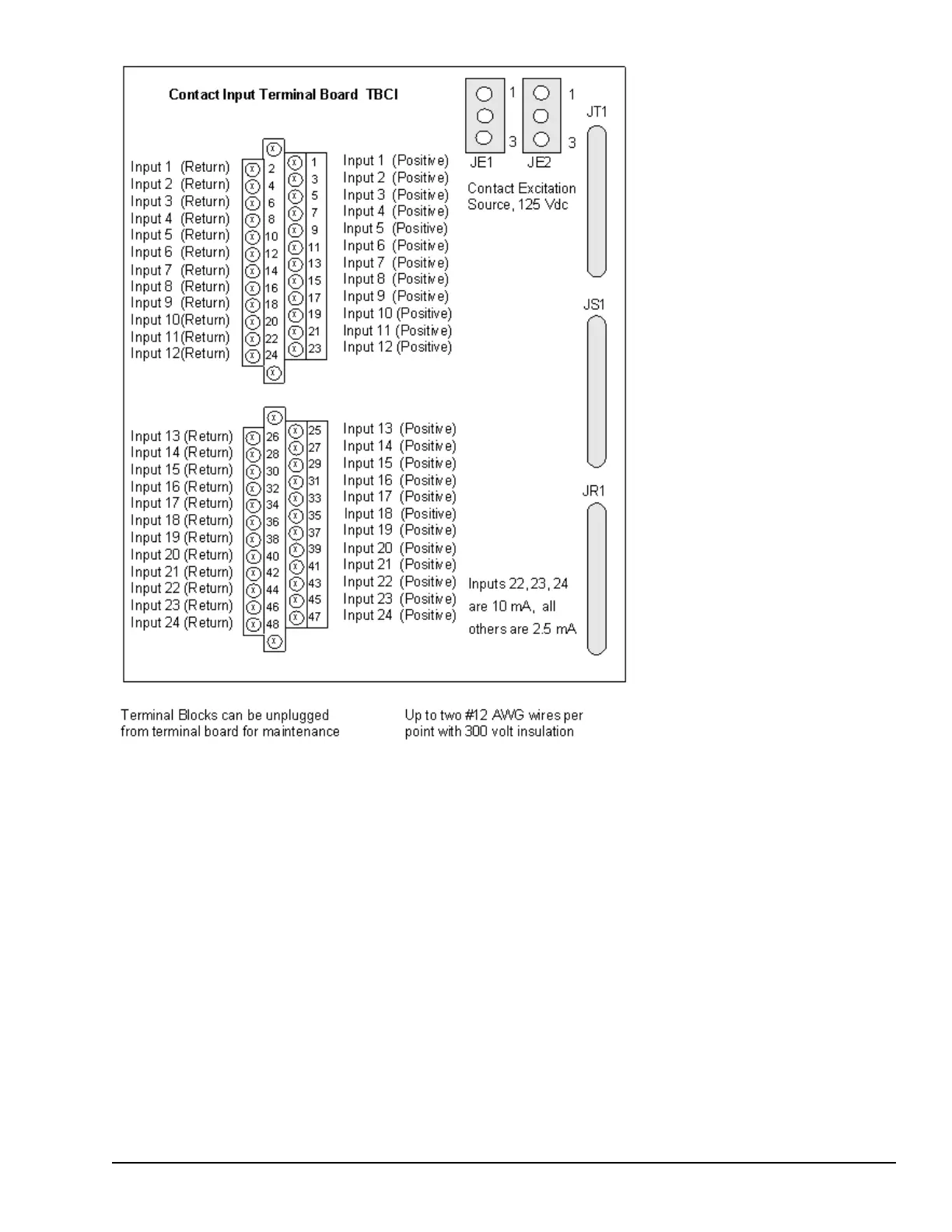
J-port Connections
Use all three for TMR
Use JR1 and JS1 for dual
Use JR1 for simplex
TBCI Wiring and Cabling
YDIA Discrete Input Modules GEH-6855_Vol_II System Guide 123
Public Information

Table of Contents

Related product manuals