EasyManua.ls Logo

GE Mark VIeS - YAIC Operation; Analog Input Hardware

GE Mark VIeS
486 pages
Print Icon
To Next Page IconTo Next Page
To Next Page IconTo Next Page
To Previous Page IconTo Previous Page
To Previous Page IconTo Previous Page
Loading...
4.1.3 YAIC Operation
4.1.3.1 Analog Input Hardware
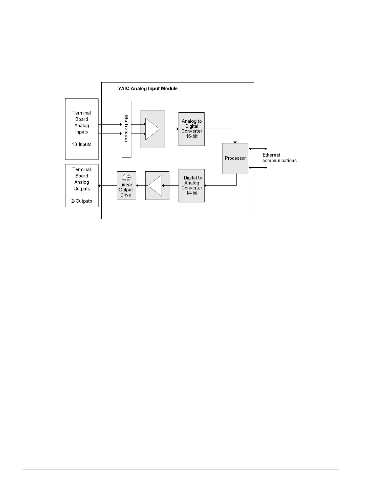
The YAIC accepts input voltage signals from the terminal board for all 10 input channels. The analog input section consists of
an analog multiplexer block, several gain and scaling selections, and a 16-bit analog-to-digital converter (ADC).
Inputs 1–8 can be individually configured as ±5 V or ±10 V, or 4–20 mA scale signals, depending on the input configuration.
Inputs 9–10 can only be configured for ±1 mA or 4-20 mA. The terminal board provides a 250 burden resistor when
configured for current inputs yielding a 5 V signal at 20 mA. These analog input signals are first passed through a passive,
low pass filter network with a pole at 75.15 Hz. Voltage signal feedbacks from the analog output circuits and calibration
voltages are also sensed by the YAIC analog input section.
94 GEH-6855_Vol_II GEH-6855_Vol_II Mark VIeS Functional Safety Systems Volume II
Public Information

Table of Contents

Related product manuals