EasyManua.ls Logo

Xerox Phaser 6180 - Controller

Xerox Phaser 6180
616 pages
To Next Page IconTo Next Page
To Next Page IconTo Next Page
To Previous Page IconTo Previous Page
To Previous Page IconTo Previous Page
Loading...
10-48 Phaser 6180 Color Laser Printer Service Manual
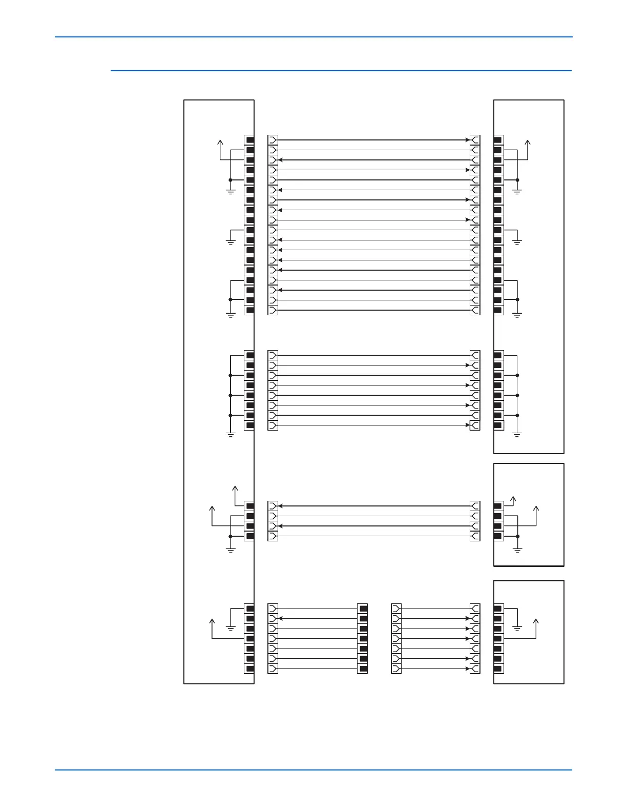
Plug/Jack and Wiring Diagrams
Controller
I/P Board
PL9.1.27
P/J101
1
2
3
4
5
6
7
8
9
10
11
12
13
14
15
16
P/J29
7
6
5
4
3
2
1
P/J401
1
2
3
4
P/J10
TEST PRINT
I/P Harness
PL10.1.7
Video Harness
PL10.1.8
Top LV Harness
PL10.1.16
Control Panel
Harness
PL1.2.15
SG
+3.3VDC
DEEP SLEEP
SG
STS
CMD
CREADY
SREADY
SG
VSYNC K
VSYNC C
VSYNC M
VSYNC Y
SG
HSYNC
SG
16
15
14
13
12
11
10
9
8
7
6
5
4
3
2
1
17
18
18
17
P/J40
1
2
3
4
P/J220
1
2
3
4
5
6
7
MCU Board
PL9.1.20
LVPS
PL9.1.4
Control Panel
PL1.2.16
s6180-433
P/J111
1
2
3
4
5
6
7
8
P/J11
SG
SG
SG
SG
+5VDC
SG
+3.3VDC
SG
SG
CLK
+5VDC
BACK LIGHT
BL +5VDC
6
5
4
3
2
1
8
7
+3.3VDC +3.3VDC
+5VDC
+3.3VDC
+5VDC +5VDC
+5VDC
+3.3VDC
1
2
3
4
5
6
7
7
6
5
4
3
2
1
P/J2900
I/P Harness
PL1.2.32
DATA K
DATA C
DATA M
DATA Y
DATA

Table of Contents

Other manuals for Xerox Phaser 6180

Related product manuals