EasyManua.ls Logo

BD Alaris - Page 95

Default Icon
376 pages
Print Icon
To Next Page IconTo Next Page
To Next Page IconTo Next Page
To Previous Page IconTo Previous Page
To Previous Page IconTo Previous Page
Loading...
Getting started
BD Alaris
TM
System with Guardrails
TM
Suite MX User Manual 81
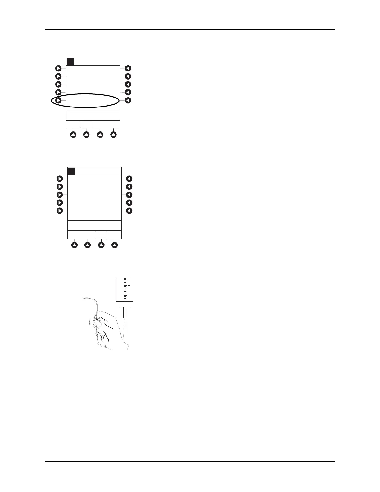
4. Press the Prime Set with Syringe soft key.
If pressure sensing disc was not removed prior to pressing Prime Set with Syringe soft key, a pressure
sensing disc removal prompt is displayed.
5. Invert pressure sensing disc so that patient side is up.
6. Hold pressure sensing disc between two fingers.
Channel Options
Guardrails Drugs
Pressure Limit - 550 mmHg
A
>Select an Option or EXI T
EXIT
Channel Labels
Prime Set with Syringe
Guardrails IV Fluids
AA
A
It is recommended that the
Pressure Sensing Disc be
removed during priming.
Press CONFIRM and
continue priming.
>Press CONFIRM
CONFIRM
5
10
15
20
½
Patient Side

Table of Contents

Other manuals for BD Alaris

Related product manuals