EasyManua.ls Logo

MacDon FlexDraper FD75 - Adapter Feed Draper; Replacing Adapter Feed Draper

MacDon FlexDraper FD75
578 pages
Print Icon
To Next Page IconTo Next Page
To Next Page IconTo Next Page
To Previous Page IconTo Previous Page
To Previous Page IconTo Previous Page
Loading...
214323 428 Revision B
6.10 Adapter Feed Draper
CAUTION
To avoid personal injury, before servicing machine or opening drive covers, refer to 6.1 Preparing Machine for
Servicing, page 343.
6.10.1 Replacing Adapter Feed Draper
Replace draper if torn, cracked, or missing slats.
DANGER
To prevent bodily injury or death from the unexpected start-up or fall of a raised machine, always stop the engine and
remove the key before leaving the operators seat, and always engage the safety props before going under the
machine for any reason.
1. If attached to the combine, detach the header from the adapter. Refer to 5.7.1 Detaching Header from Adapter and
Combine, page 330.
2. Raise the feeder house to its full height.
3. Stop the engine, and the remove key from the ignition.
4. Engage the combine safety props. For instructions, refer to the combine operators manual.
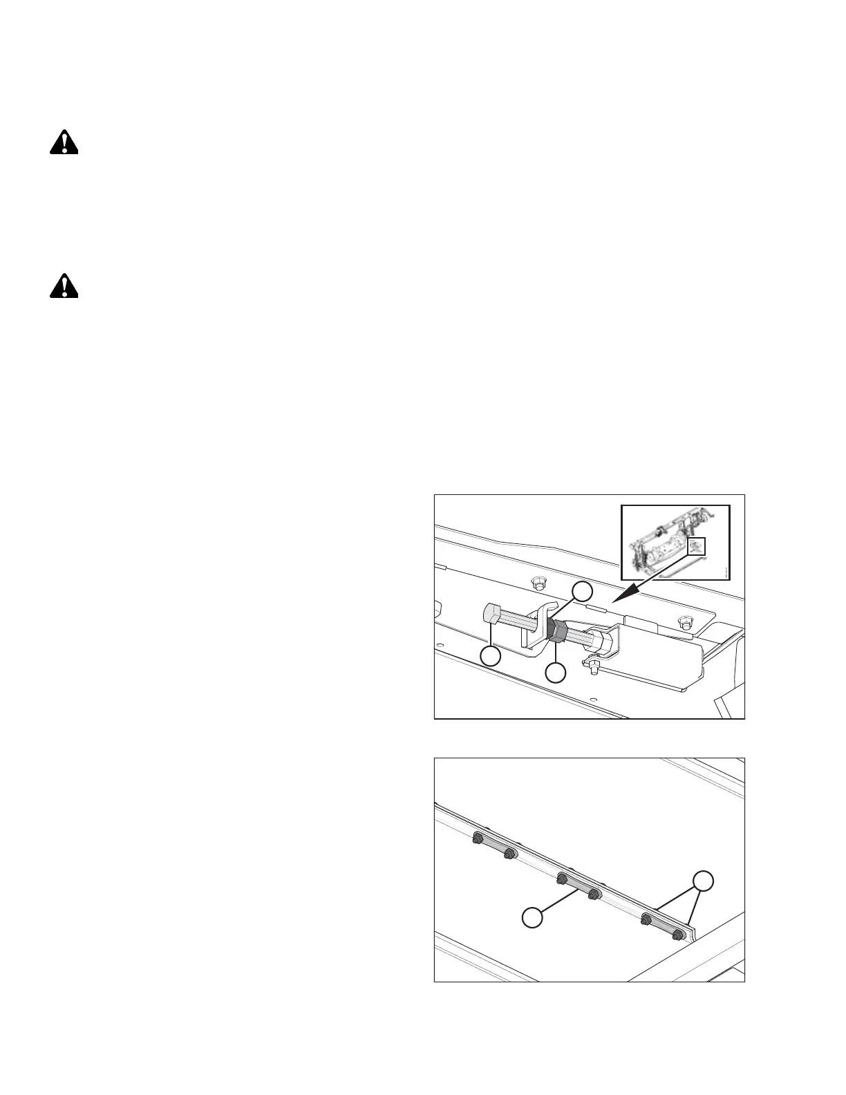
1005638
A
B
C
Figure 6.154: Tensioner
5. Loosen jam nut (A) and hold nut (B) with a wrench while
turning bolt (C) counterclockwise to release the draper
tension. Repeat at the opposite side.
6. Disengage the header safety props and lower the feeder
house and adapter onto blocks to keep the adapter slightly
off the ground.
1014024
A
B
Figure 6.155: Draper Connector
7. Remove screws (A) and nuts, and remove draper connector
straps (B).
8. Pull the draper from the deck.
MAINTENANCE AND SERVICING

Table of Contents

Other manuals for MacDon FlexDraper FD75

Related product manuals