EasyManua.ls Logo

MacDon FlexDraper FD75 - Checking Wing Balance

MacDon FlexDraper FD75
578 pages
Print Icon
To Next Page IconTo Next Page
To Next Page IconTo Next Page
To Previous Page IconTo Previous Page
To Previous Page IconTo Previous Page
Loading...
214323 69 Revision B
The header wing balance allows the wings to react to changing ground conditions. If set too light, the wings will bounce or
not follow ground contours, leaving uncut crop. If set too heavy, the end of the header will dig into the ground. After the
header float has been set, the wings must be balanced for the header to follow the ground contours properly.
CAUTION
To avoid personal injury, before servicing machine or opening drive covers, refer to 6.1 Preparation for Servicing, page
343.
Checking Wing Balance
This procedure describes how to check the balance of each wing.
DANGER
To prevent bodily injury or death from the unexpected startup of the machine, always stop the engine and remove the
key before adjusting the machine.
1009084
A
B
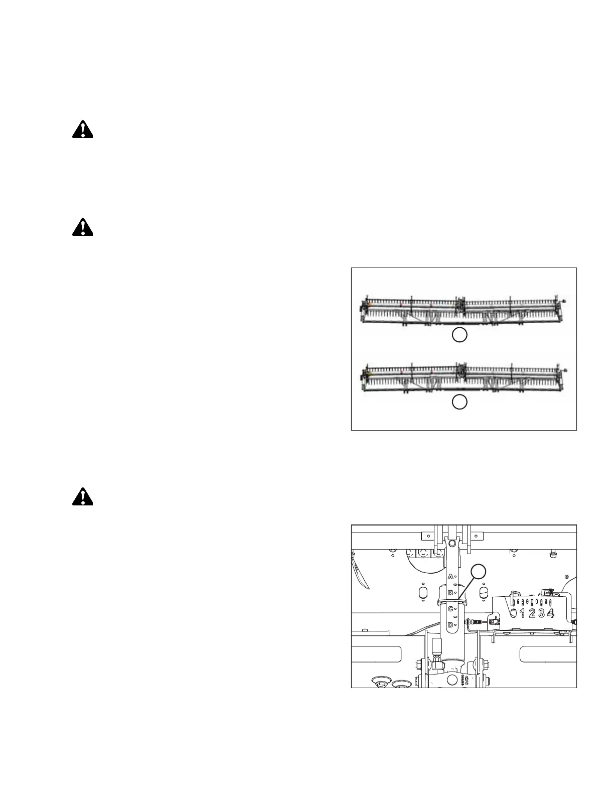
Figure 3.54: Wing Imbalance
If a wing has a tendency to be in smile (A) or frown (B) position,
the wing balance may require adjusting.
Perform the following steps to verify if the wings are not balanced:
DANGER
Ensure that all bystanders have cleared the area.
1009646
A
Figure 3.55: Center-Link
1. Adjust the header center-link to approximately halfway
between B and C on indicator (A).
2. Park the combine on level ground and raise the header
until the cutterbar is 152254 mm (610 in.) off the ground.
3. Shut down the engine, and remove the key from the
ignition.
4. If installed, move the stabilizer (or slow speed transport)
wheels so that they are supported by the header. For
instructions, refer to 3.7.1 Cutting Height, page 54.
OPERATION

Table of Contents

Other manuals for MacDon FlexDraper FD75

Related product manuals