EasyManua.ls Logo

Nortel BayStack 450-24T - Virtual Local Area Networks (VLANs)

Nortel BayStack 450-24T
400 pages
Print Icon
To Next Page IconTo Next Page
To Next Page IconTo Next Page
To Previous Page IconTo Previous Page
To Previous Page IconTo Previous Page
Loading...
BayStack 450 10/100/1000 Series Switches
309978-D Rev 01 1-49
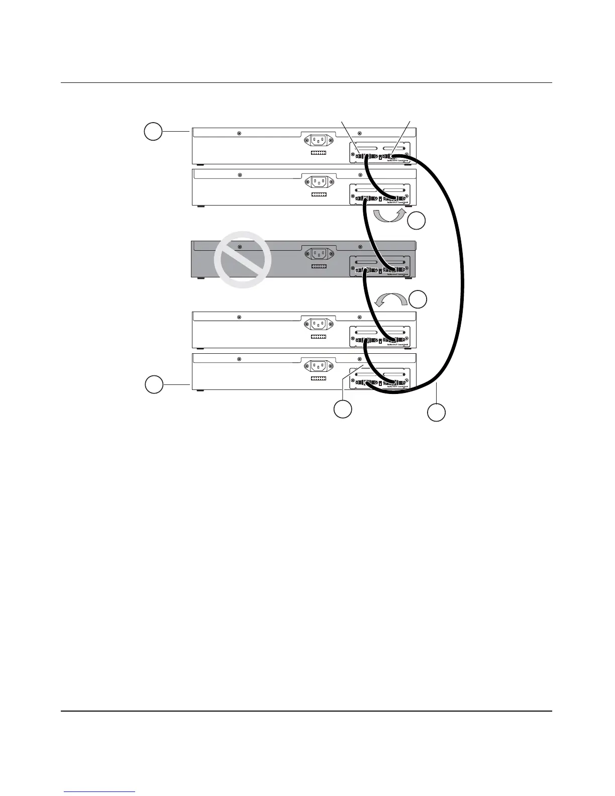
Figure 1-21. Redundant Cascade Stacking Feature
Virtual Local Area Networks (VLANs)
In a traditional shared-media network, traffic generated by a station is propagated
to all other stations on the local segment. Therefore, for any given station on the
shared Ethernet, the local segment is the collision domain because traffic on the
segment has the potential to cause an Ethernet collision. The local segment is also
the broadcast domain because any broadcast is sent to all stations on the local
segment. Although Ethernet switches and bridges divide a network into smaller
collision domains, they do not affect the broadcast domain. In simple terms, a
virtual local area network provides a mechanism to fine-tune broadcast domains.
Unit 2
1 = Base unit
2 = Last unit
3 = Cascade cable (PN 303978-A)
4 = Cascade max-return cable (PN 303979-A)
BS0035B
Cascade A Out
Cascade A In
Unit 1
Unit 5
Unit 4
Unit 3
2
1
B
A
4
3

Table of Contents

Related product manuals