EasyManua.ls Logo

Sel 2414 - RTD Card (SEL ECT 10 RTD); RTD;TC Card (10 RTD

Sel 2414
362 pages
Print Icon
To Next Page IconTo Next Page
To Next Page IconTo Next Page
To Previous Page IconTo Previous Page
To Previous Page IconTo Previous Page
Loading...
2.5
Date Code 20130214 Instruction Manual SEL-2414 Transformer Monitor
Installation
Card Configuration
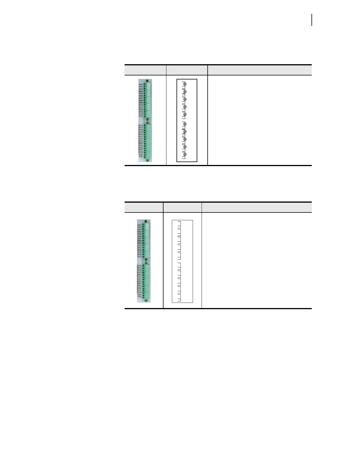
RTD Card
(SELECT 10 RTD)
Supported in Slot D only, this card has 10 RTD inputs. Table 2.4 shows the termi-
nal allocation.
RTD/TC Card
(10 RTD/TC)
Supported in Slot D only, this card has 10 RTD or TC inputs that can be individu-
ally selected. Table 2.5 shows the terminal connection.
Tab le 2.4 RTD ( SELECT 10 RTD) Card Terminal Allocation
Term i n a l s Label Description
RTD1, drives analog quantity RTD1
RTD2, drives analog quantity RTD2
RTD3, drives analog quantity RTD3
RTD4, drives analog quantity RTD4
RTD5, drives analog quantity RTD5
RTD6, drives analog quantity RTD6
RTD7, drives analog quantity RTD7
RTD8, drives analog quantity RTD8
RTD9, drives analog quantity RTD9
RTD10, drives analog quantity RTD10
08
05
06
04
09
20
21
22
23
24
25
26
27
28
29
30
10
11
12
13
14
15
16
17
18
19
07
02
03
01
RTD 1
COMP/ SHLD
+
RTD2
COMP/ SHLD
+
RTD3
COMP/ SHLD
+
RTD4
COMP/ SHLD
+
RTD5
COMP/ SHLD
+
RTD6
COMP/ SHLD
+
RTD7
COMP/ SHLD
+
RTD8
COMP/ SHLD
+
RTD9
COMP/ SHLD
+
RTD 10
COMP/ SHLD
+
Table 2.5 RTD (10 RTD) Card Terminal Allocation
Term i n al s Label Description
RTD1/TC1, drives analog quantity INTEMP01
RTD2/TC2, drives analog quantity INTEMP02
RTD3/TC3, drives analog quantity INTEMP03
RTD4/TC4, drives analog quantity INTEMP04
RTD5/TC5, drives analog quantity INTEMP05
RTD6/TC6, drives analog quantity INTEMP06
RTD7/TC7, drives analog quantity INTEMP07
RTD8/TC8, drives analog quantity INTEMP08
RTD9/TC9, drives analog quantity INTEMP09
RTD10/TC10, drives analog quantity INTEMP10
08
05
06
04
09
20
21
22
23
24
25
26
27
28
29
30
10
11
12
13
14
15
16
17
18
19
07
02
03
01
TC/RTD 1
COMP/ SHLD
+
TC/RTD 1
COMP/ SHLD
+
TC/RTD 1
COMP/ SHLD
+
TC/RTD 1
COMP/ SHLD
+
TC/RTD 1
COMP/ SHLD
+
TC/RTD 1
COMP/ SHLD
+
TC/RTD 1
COMP/ SHLD
+
TC/RTD 1
COMP/ SHLD
+
TC/RTD 1
COMP/ SHLD
+
TC/RTD 1
COMP/ SHLD
+

Table of Contents

Related product manuals