EasyManua.ls Logo

BD Alaris - Page 110

Default Icon
376 pages
Print Icon
To Next Page IconTo Next Page
To Next Page IconTo Next Page
To Previous Page IconTo Previous Page
To Previous Page IconTo Previous Page
Loading...
Chapter 3BD Alaris™ Pump Module Model 8100, Alaris™ Pump Module Model 8100, and Alaris™
Syringe Module Model 8110
96 BD Alaris
TM
System with Guardrails
TM
Suite MX User Manual
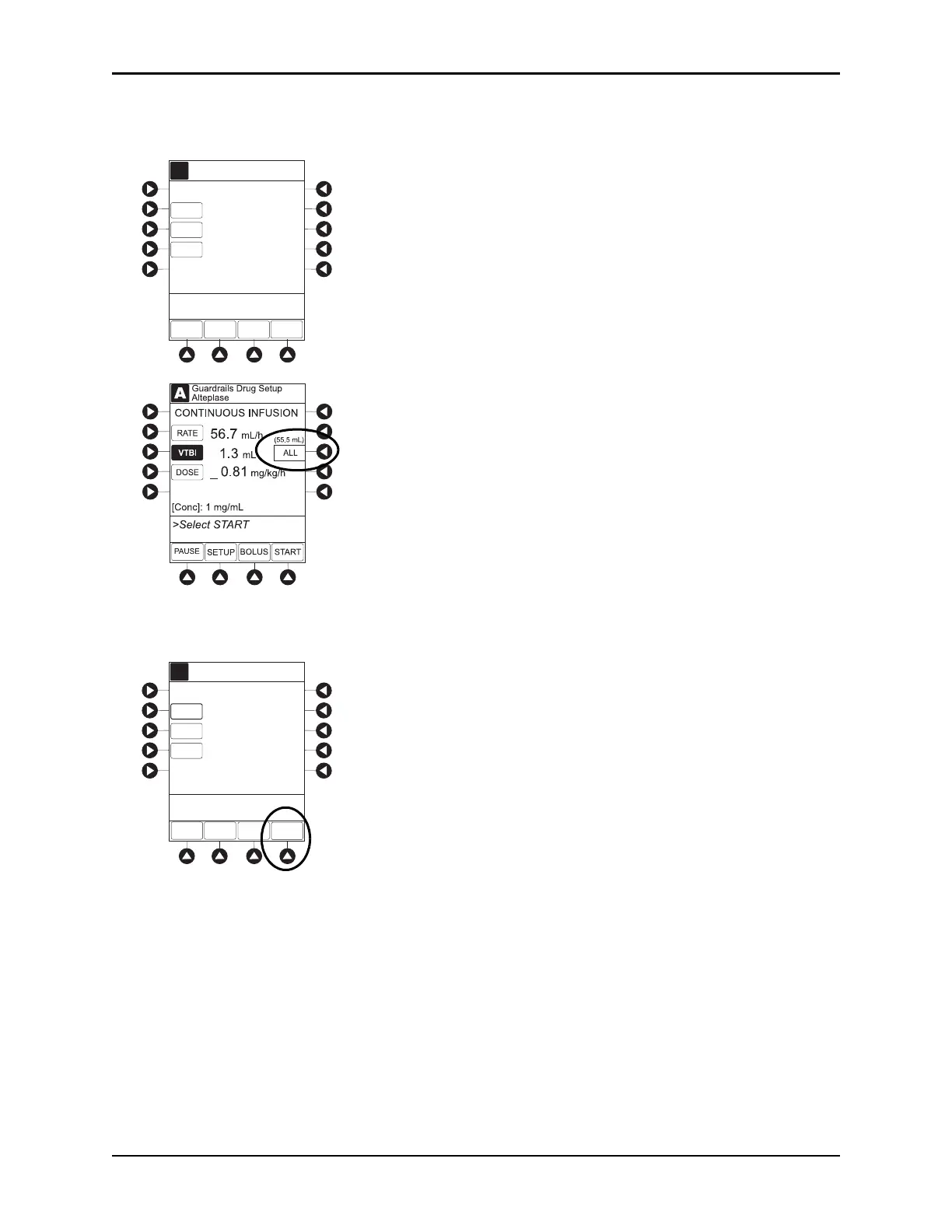
To deliver entire contents of syringe: Keep an ALL VTBI value, or press the ALL soft key to change
a numeric
VTBI value to ALL.
7. Verify the correct parameters and press the START soft key.
For a continuous infusion, the drug name and dose will scroll on the module messa
ge display.
AA
A
RATE
VTBI
CONTINUOUS INFUSION
DOSE
_
0.81 mg/kg/h
[Conc]: 1 mg/mL
56.7 mL/h
SETUP
BOLUS
ALL
>Select VTBI
Alteplase
Stroke
Available:
(55.5 mL)
START
PAUSE
AA
A
RATE
VTBI
CONTINUOUS INFUSION
DOSE
0.81 mg/kg/h
[Conc]: 1 mg/mL
SETUP
BOLUS
100 mL
START
PAUSE
>Press START
56.7 mL/h
Alteplase
Stroke

Table of Contents

Other manuals for BD Alaris

Related product manuals