EasyManua.ls Logo

NEC Express 5800 - Page 212

NEC Express 5800
719 pages
To Next Page IconTo Next Page
To Next Page IconTo Next Page
To Previous Page IconTo Previous Page
To Previous Page IconTo Previous Page
Loading...
Hardware
212
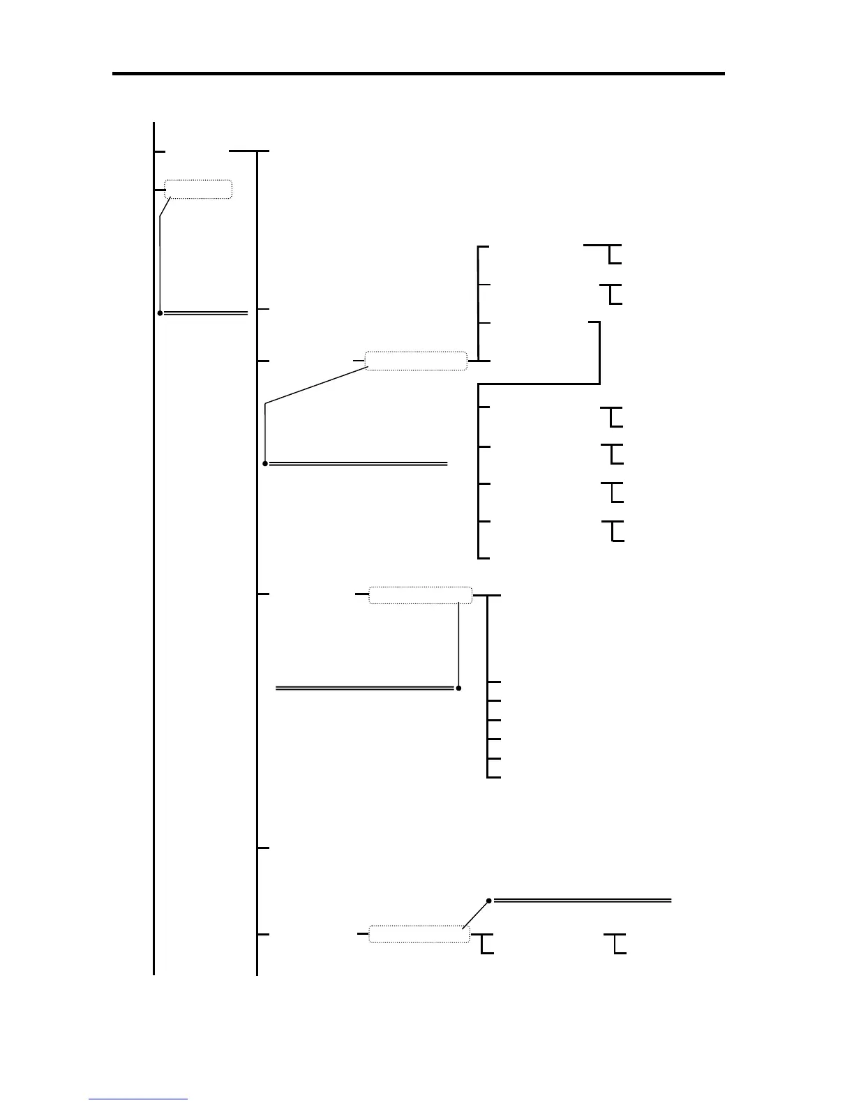
View GUID:
- System GUID
SVRx Control:
SVRx Network:
Clear All Faults:
Restore SVRx:
Reset Param BIOS:
Return:
SVRx Power Up:
SVRx OS Shutdown:
SVRx For Maint:
Return:
SVRx Hard Reset:
SVRx Force Dump:
SVRx Power Cycle:
Return:
SVRx Power Down:
Server 1:
View Information:
- Server Name
- Server Number
- Server Power State
- Chassis Code
- Server Operating State
- Server Health
- Master CLK
- Degraded Boot
Continued from the previous page.
Return:
Execute:
Enter Password:
Enter Password:
Return:
Execute:
Execute:
Return:
Return:
Execute:
Return:
Execute:
View Information:
- DHCP enabled/disabled
- IP Address
- Network Mask
- Network Gateway Address
Return:
Set DHCP on/off:
Set IP Addr:
Set IP Mask:
Set Gateway Addr:
View DHCP GUID:
Return:
Execute:
Return:
Execute:
Enter Password:
Server 2:
Displayed for
A1080a-D
model.
Menus under
that are the
same as those
of Server 1.
It is displayed only when LCD
Guard Mode is Enabled. It is
bypassed and menus under it
are displayed when the mode is
Disabled.
It is displayed only when LCD
Guard Mode is Enabled. It is
bypassed and menus under it
are displayed when the mode is
Disabled.
It is displayed only when LCD
Guard Mode is Enabled. It is
bypassed and menus under it
are displayed when the mode is
Disabled.
Continue to the next page.

Table of Contents

Other manuals for NEC Express 5800

Related product manuals