EasyManua.ls Logo

NEC Express 5800 - Page 213

NEC Express 5800
719 pages
To Next Page IconTo Next Page
To Next Page IconTo Next Page
To Previous Page IconTo Previous Page
To Previous Page IconTo Previous Page
Loading...
Hardware
213
Return:
Mode Settings:
Enter Password:
View Mode Info.:
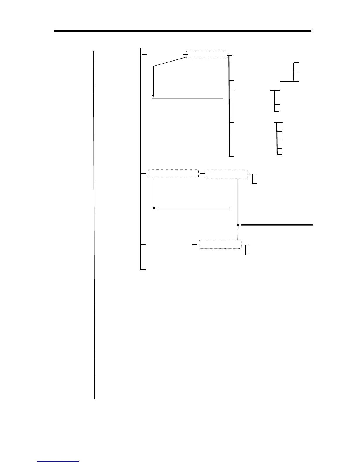
- Patrol Scrubbing
- CPU Throttle Mode
- QPI Link Frequency
Patrol Scrubbing:
Return:
Enable:
Disable:
CPU Throttle: 7:
0:
Return:
QPI Link Freq.: Auto:
6.4GT/S:
5.86GT/S:
4.8GT/S:
Return:
Return:
Stop MGM of SVRx >:
Enter Password:
Return:
Execute:
Continued from the previous page.
Continue to the next page.
It is displayed only when LCD
Guard Mode is Enabled. It is
bypassed and menus under it
are displayed when the mode is
Disabled.
It is displayed only when LCD
Guard Mode is Enabled. It is
bypassed and menus under it
are displayed when the mode is
Disabled.
It is only displayed when all
servers are DC off status.
Disconnect SVRx :
Enter Password:
Execute:
Return:

Table of Contents

Other manuals for NEC Express 5800

Related product manuals