EasyManua.ls Logo

NEC Express 5800 - Page 214

NEC Express 5800
719 pages
To Next Page IconTo Next Page
To Next Page IconTo Next Page
To Previous Page IconTo Previous Page
To Previous Page IconTo Previous Page
Loading...
Hardware
214
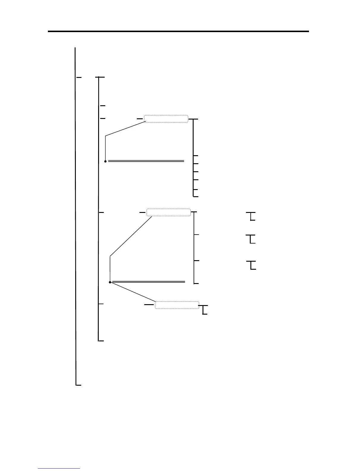
Box:
View Environment:
- Power Consumption
- Air in Temperature
Box Network:
Indicate Box:
View Information:
- DHCP enabled/disabled
- IP Address
- Network Mask
- Network Gateway Address
Set DHCP on/off:
Set IP Addr:
Set IP Mask:
Set Gateway Addr:
Enter Password:
View DHCP GUID:
Return:
Restore Box:
Enter Password:
Reset Param MGM1:
Return:
Execute:
Return:
Reset Param MGM2:
Return:
Execute:
Return:
Reset Param Box:
Return:
Execute:
Return:
Continued from the previous page.
It is displayed only when LCD
Guard Mode is Enabled. It is
bypassed and menus under it
are displayed when the mode is
Disabled.
It is displayed only when LCD
Guard Mode is Enabled. It is
bypassed and menus under it
are displayed when the mode is
Disabled.
Disconnect Box :
Enter Password:
Execute:
Return:

Table of Contents

Other manuals for NEC Express 5800

Related product manuals