EasyManua.ls Logo

Mercury 305 CID - Installation; Engine Installation;Alignment

Mercury 305 CID
967 pages
To Next Page IconTo Next Page
To Next Page IconTo Next Page
To Previous Page IconTo Previous Page
To Previous Page IconTo Previous Page
Loading...
2B-4 - ALPHA DRIVES - WITH DRIVE SHAFT EXTENSIONS 90-823225--1 1096
Installation
Engine Installation/Alignment
ENGINE MOUNT ADJUSTMENT WAS NOT
DISTURBED DURING SERVICE
!
CAUTION
Center lifting eye (located on top of thermostat
housing) is used for engine alignment only. DO
NOT use to lift entire engine.
!
CAUTION
DO NOT allow lifting sling to hook or compress
engine components or damage to them will oc-
cur.
1. Attach a suitable sling to lifting eyes on engine
and adjust so that engine is level when sus-
pended. (Refer to “Removal” section for loca-
tion of lifting eyes.)
2. Lift engine into approximate position (in boat), us-
ing an overhead hoist.
3. Set engine on stringers.
4. Grease drive shaft universal joints with Quicksil-
ver 2-4-C Marine Lubricant with Teflon.
!
CAUTION
When attaching shaft in next step, BE SURE that
the pilot on drive shaft flanges are engaged in in-
put shaft and output shaft flanges. Flanges
MUST BE flush to each other prior to tightening
screws or screws may come loose during opera-
tion.
!
CAUTION
Failure to align shaft flanges with matching
marks made on disassembly may cause improp-
erly aligned drive unit and extension drive shaft
U-joint centerlines resulting in a severe vibration
problem.
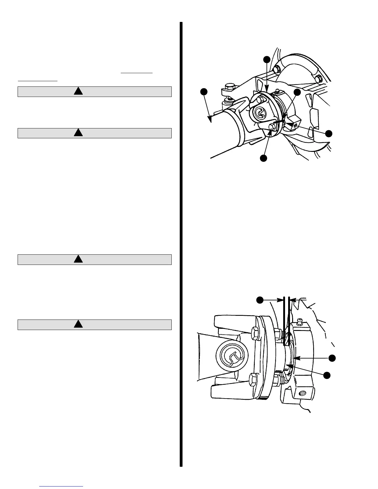
5. As shown, attach engine output flange to drive-
shaft flange exactly as marked during disassem-
bly. Torque fasteners to 50 lb. ft. (68 N·m).
70237
b
c
d
a
e
a - Output Shaft Flange
b - Drive Shaft
c - Screw 7/16-20 x 1-1/2 In. (38 mm) Long (4 Used)
d - Nut 7/16-20 (4 Used)
e - Matching Marks Made upon Disassembly - Aligned
Engine End Shown
IMPORTANT: Failure to properly position output
shaft flange may result in bearing damage.
6. Relieve hoist tension from engine, then slide en-
gine fore or aft as needed to obtain 1/4 in. (6 mm)
clearance between flange shoulder and exten-
sion shaft housing bearing.
72591
a - Flange Shoulder
b - Bearing
c - 1/4 In. (6 mm)
b
c
a

Table of Contents

Related product manuals