EasyManua.ls Logo

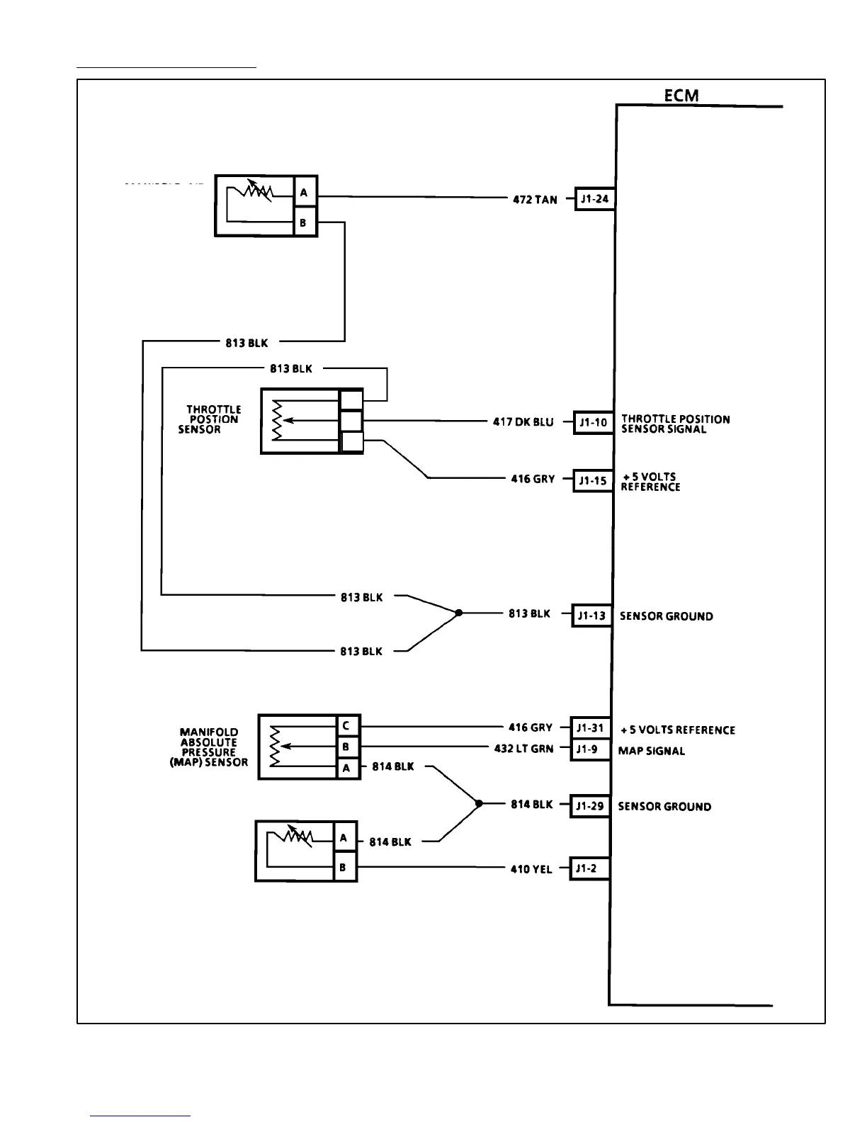
Mercury 305 CID - Multi-Port Injection Wiring Diagram (Chart 2 of 4)

Mercury 305 CID
967 pages
To Next Page IconTo Next Page
To Next Page IconTo Next Page
To Previous Page IconTo Previous Page
To Previous Page IconTo Previous Page
Loading...
(TP)
ENGINE COOLANT
TEMPERATURE (ECT)
SENSOR
ENGINE COOLANT
TEMPERATURE (ECT)
SENSOR SIGNAL
INTAKE AIR
TEMPERATURE
(IAT) SENSOR
INTAKE AIR TEMPERATURE
(IAT) SENSOR SIGNAL
A
B
C
ELECTRONIC FUEL INJECTION (MULTI-PORT AND THROTTLE BODY) - 5E-4390-823225--1 1096
Multi-Port Injection Wiring Diagram (Chart 2 Of 4)

Table of Contents

Related product manuals