EasyManua.ls Logo

Mercury 305 CID - Throttle Body Injection with Vapor Separator Tank; Throttle Body Injection with Cool Fuel System

Mercury 305 CID
967 pages
To Next Page IconTo Next Page
To Next Page IconTo Next Page
To Previous Page IconTo Previous Page
To Previous Page IconTo Previous Page
Loading...
5A-4 - FUEL DELIVERY SYSTEMS AND FUEL PUMPS 90-823225--1 1096
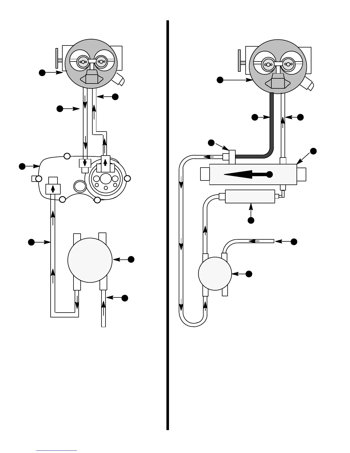
Throttle Body Injection With Vapor
Separator Tank
73895
d
e
f
g
c
b
a
a - Throttle Body Unit
b - Fuel Line To Throttle Body
c - Return Line From Throttle Body
d - Vapor Separator Tank (VST)
e - Inlet Line From VST
f - Water Separating Fuel Filter
g - Fuel From Tank
Throttle Body Injection With Cool
Fuel System
74871
h
d
a
i
b
e
f
c
g
a - Vacuum Line To Flame Arrestor
b - Fuel Pressure Regulator
c - Fuel Cooler
d - Electric Fuel Pump
e - Water Separating Fuel Filter
f - Fuel From Tank
g - Direction Of Water Flow
h - Throttle Body Unit
i - Fuel Line To Throttle Body
j - Excess Fuel Return To Water Separating Fuel Filter

Table of Contents

Related product manuals