EasyManua.ls Logo

Mercury 305 CID - Lubricants;Sealants;Adhesives; Shutter Replacement; Torque Specifications

Mercury 305 CID
967 pages
To Next Page IconTo Next Page
To Next Page IconTo Next Page
To Previous Page IconTo Previous Page
To Previous Page IconTo Previous Page
Loading...
COLLECTORS - 7D-190-823225--1 1096
Torque Specifications
Fastener Location Lb. Ft. N·m
Block-Off Plate
Exhaust Pipe to Gimbal
Housing
Exhaust Pipe to Tee Pipe
20-25
27-34
Tee Pipe to Gimbal Housing
20
-
25
27
-
34
Upper Exhaust Pipe to Lower
Exhaust Pipe
Exhaust Elbow
Air Pump Mount
Sl
Muffler End Plate
Sl
Mode Switch Securely
Hose Clamps
Water Shutter Screw/Nut
Lubricants/Sealants/
Adhesives
Description Part Number
Quicksilver 2-4-C Marine
Lubricant With Teflon
92-825407A3
Loctite 35 92-59328-1
Loctite Primer 92-59327-1
Quicksilver Bellows Adhesive 92-86166
Quicksilver Perfect Seal 92-34227-1
Quicksilver Liquid Neoprene 92-25711-2
Quicksilver Sound Blanket
Glue
92-25234
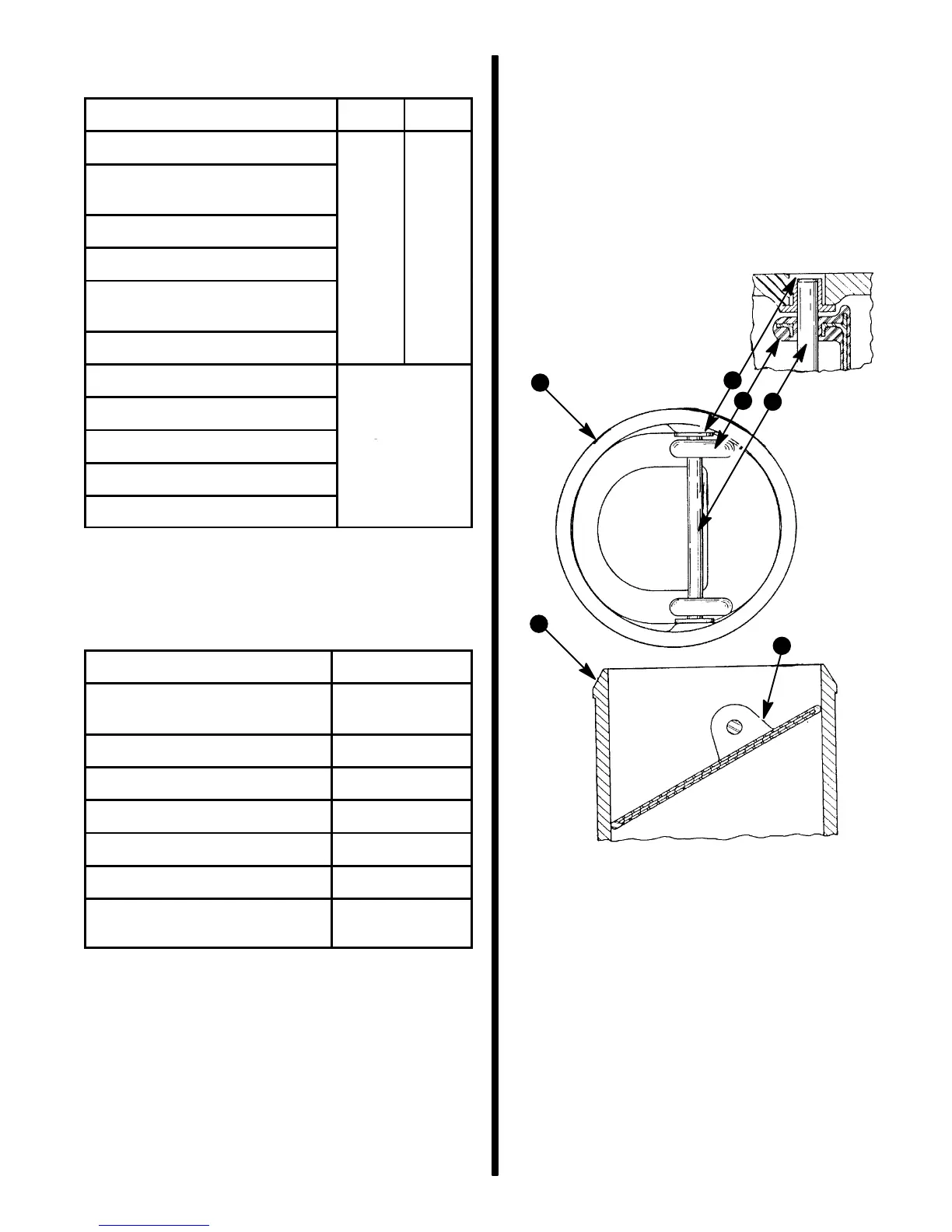
Shutter Replacement
IMPORTANT: Engine does not have to be re-
moved to change shutters.
1. Loosen clamps and remove exhaust pipe elbow
and exhaust hose.
2. Replace water shutter as shown.
3. Reinstall pipe elbow and hose. Tighten clamps
securely.
72729
c
b
c
d
a
a
Earlier Style Shutter
a - Top Of Pipe
b - Shoulder Bushing
c - Water Shutter
d - Shaft

Table of Contents

Related product manuals