EasyManua.ls Logo

Mercury 305 CID - Page 424

Mercury 305 CID
967 pages
To Next Page IconTo Next Page
To Next Page IconTo Next Page
To Previous Page IconTo Previous Page
To Previous Page IconTo Previous Page
Loading...
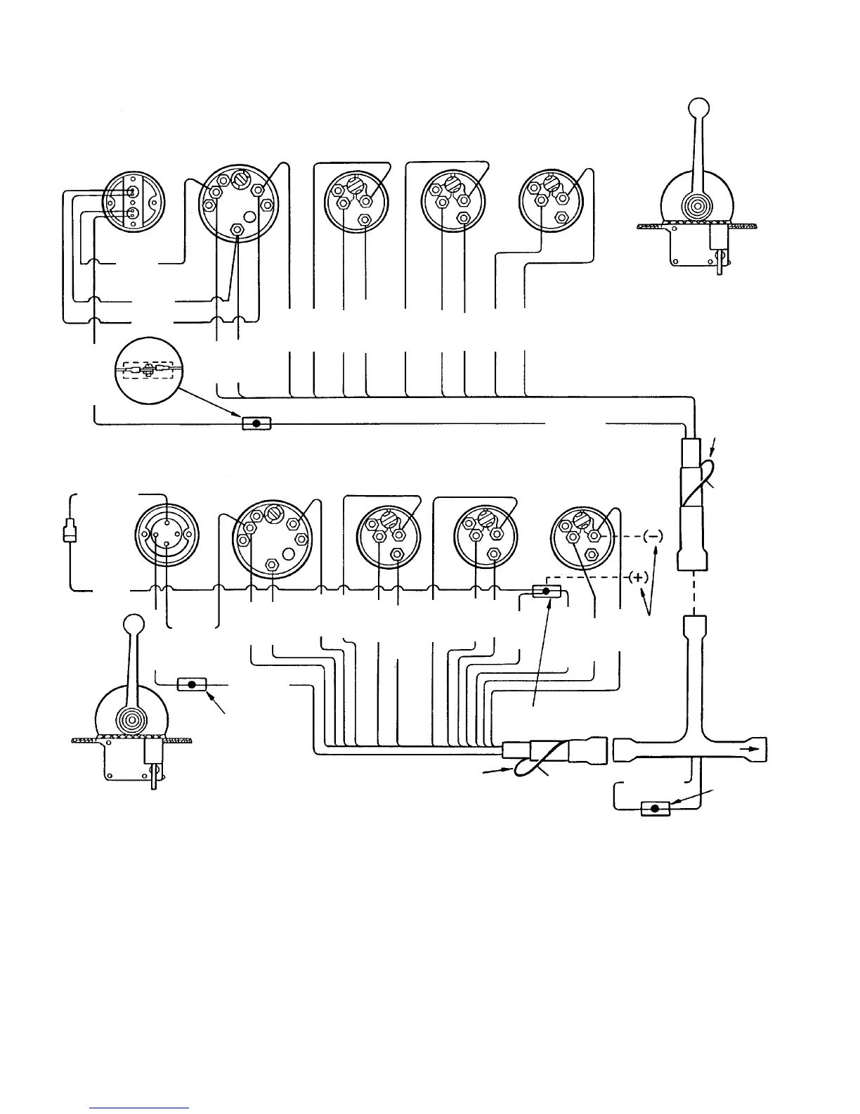
4F-30 - WIRING DIAGRAMS 90-823225--1 1096
DUAL STATION WIRING USING A NEUTRAL SAFETY SWITCH IN ENGINE WIRING HARNESS
72942
STOP-START
PANEL
TACHOMETER
OIL
PRESSURE
WATER
TEMPERATURE
BATTERY
METER
IGNITION
SWITCH
TACHOMETER
OIL
PRESSURE
WATER
TEMPERATURE
BATTERY
METER
SECONDARY STATION
PRIMARY STATION
BRN/WHT
TO
ENGINE
PUR
GRY
BLK
YEL/RED
NOTE 3
PUR
PUR
GRY
BLK
BLK
LT. BLU
BLK
PUR
TAN
PUR
BLK
RED/PUR
ORN
20 AMP
FUSE
PUR
PUR
GRY
BLK
BLK
PUR
LT. BLU
BLK
PUR
TAN
ORN
RED/PUR
PUR
BLK
NOTE 2
NOTE 3
NOTE 1
YEL/RED
YEL/RED
NOTE 3
NOTE 3
BRN/WHT
NOTE 1
YEL/RED
YEL/RED
SEND
SEND
SEND
LT
LT
LT
LT
SW
12V
12V
12V
12V
GND
UNSW
SIG
GND
GND
GND
B
S
I
SEND SEND SEND
LT
LT
LT
LT
SW
12V
12V
12V
12V
GND
UNSW
SIG
GND GND
GND
NOTE 1: Brown/white wire is taped back at instrument end. If installing on boat that is equipped with MerCruiser
Stern Drive, brown/white wire is connected to trim sender terminal block. If installing on Mercruiser Inboard,
brown/white wire is taped back at engine end, or it may be used for an accessory (limit 5 amps).
NOTE 2: An accessory fuse panel may be connected at this location. The combined current draw of the primary
station and secondary station MUST NOT exceed 35 amps.
NOTE 3: Connect wires together with screw and hex nut. Apply Liquid Neoprene to connection and slide rubber
sleeve over connection.

Table of Contents

Related product manuals