EasyManua.ls Logo

Yamaha F150A - Disassembling the Propeller Shaft Housing Assembly; Checking the Propeller Shaft; Checking the Dog Clutch; Checking the Propeller Shaft Housing

Yamaha F150A
493 pages
Print Icon
To Next Page IconTo Next Page
To Next Page IconTo Next Page
To Previous Page IconTo Previous Page
To Previous Page IconTo Previous Page
Loading...
8-16
Propeller shaft housing (regular rotation model)
0
1
2
3
4
5
6
7
8
9
10
A
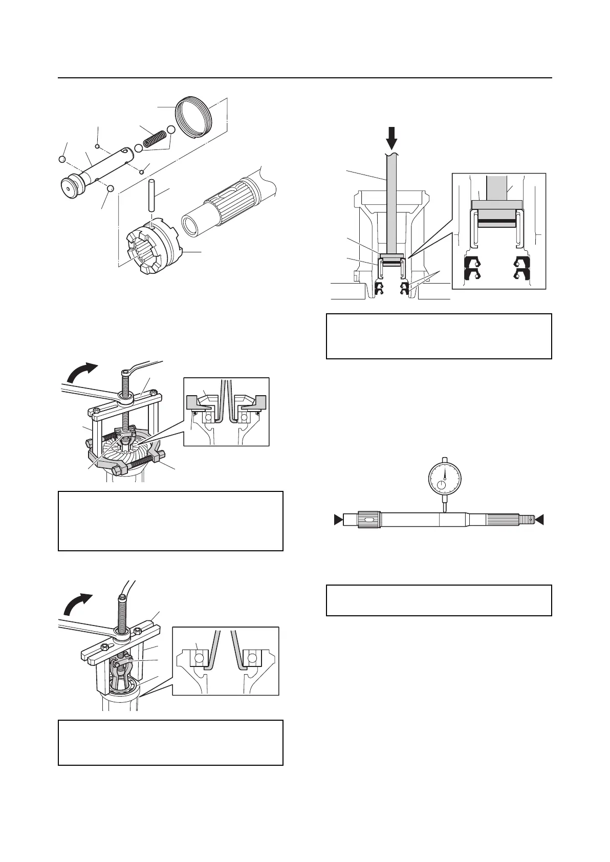
Disassembling the propeller shaft
housing assembly
1. Remove the reverse gear “1” and thrust
washer “2”.
2. Remove the ball bearing “1”.
3. Remove the oil seals “1” along with the
needle bearing “2”.
Checking the propeller shaft
1. Check the propeller shaft. Replace if
damaged or worn.
2. Measure the propeller shaft runout.
Checking the dog clutch
1. Check the dog clutch, cross pin, spring,
balls, and slider. Replace if cracked or
worn.
Checking the propeller shaft housing
1. Check the propeller shaft housing.
Replace if cracked or damaged.
Checking the reverse gear
1. Check the teeth and dogs of the reverse
gear. Replace if cracked or worn.
Bearing separator “3”: 90890-06534
Stopper guide plate “4”: 90890-06501
Stopper guide stand “5”: 90890-06538
Bearing puller assembly “6”: 90890-06535
Stopper guide plate “2”: 90890-06501
Stopper guide stand “3”: 90890-06538
Bearing puller assembly “4”: 90890-06535
1
2
3
4
5
5
6
6
7
8
3
4
5
6
1
2
1
1
2
3
4
Driver rod L3 “3”: 90890-06652
Needle bearing attachment “4”:
90890-06653
Propeller shaft runout:
0.02 mm (0.0008 in)
1
2
3
4
4
3

Table of Contents

Other manuals for Yamaha F150A

Related product manuals