EasyManua.ls Logo

Nitsuko 1232 - Extension Connection; Frame Ground Connection; Opening Front Cover

Default Icon
388 pages
Print Icon
To Next Page IconTo Next Page
To Next Page IconTo Next Page
To Previous Page IconTo Previous Page
To Previous Page IconTo Previous Page
Loading...
¾
3-1-2
¾
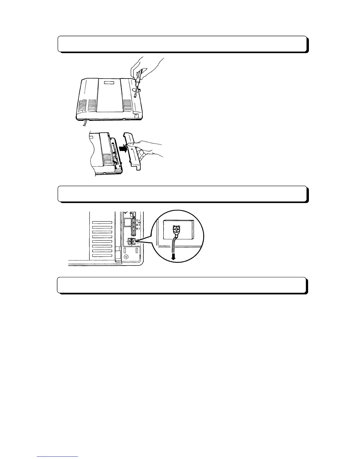
Opening Front Cover
1. Loosen the screw.
2. Slide the cover to the direction of an arrow while
pressing the marked position.
Frame Ground Connection
IMPORTANT!!!
Connect the frame of the main unit to
ground.
Extension Connection
Wire Specification
The wire specification are as follows:
Wire Solid wire
Diameter of conductor
f
0.5 mm or 24AWG
Cable Two-pair twisted or quad cable
Cable Length between ME and Extension
For key telephone: Not exceeding 300 m (985 ft)
For single line telephone: Not exceeding 1125 m (3750 ft)
Connection
Use a 4-pin plug (included) to connect extension lines.
There are 8 plugs to connect extensions to TEL 1 through TEL 8 jacks.
1. Lift the transparent part.
2. Insert required telephone wires into the holes in a plug.
Then press the transparent part into the black part.
Note:
Do not strip the wires.
Insert the wires all the way into the plug.
To ground

Table of Contents

Related product manuals