EasyManua.ls Logo

YASKAWA GA700 Series

YASKAWA GA700 Series
1021 pages
To Next Page IconTo Next Page
To Next Page IconTo Next Page
To Previous Page IconTo Previous Page
To Previous Page IconTo Previous Page
Loading...
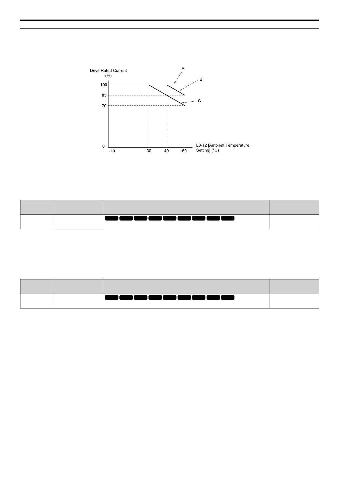
10.6 Drive Derating
444 YASKAWA SIEPC71061705H GA700 Series Technical Manual
Derating Depending on Ambient Temperature
When you install drives in a place where ambient temperatures are higher than the rated conditions or install
drives side-by-side in the enclosure panel, set L8-12 [Ambient Temperature Setting] and L8-35 [Installation
Method Selection]. Derate the output current as specified in Figure 10.1.
A - L8-35 = 0
B - L8-35 = 2, L8-35 = 3
C - L8-35 = 1
Figure 10.1 Derating Depending on Drive Installation Method
L8-12: Ambient Temperature Setting
No.
(Hex.)
Name Description
Default
(Range)
L8-12
(04B8)
Ambient Temperature
Setting
Sets the ambient temperature of the drive installation area.
40 °C
(-10 °C - +50 °C)
The drive automatically adjusts the drive rated current to the best value as specified by the set temperature. Set the
ambient temperature of the area where you install the drive to a value that is more than the drive rating.
Refer to Derating Depending on Ambient Temperature on page 444 for information about derating depending on
ambient temperature.
L8-35: Installation Method Selection
No.
(Hex.)
Name Description
Default
(Range)
L8-35
(04EC)
Installation Method
Selection
Sets the type of drive installation.
Determined by the drive
(0 - 3)
Note:
Parameter A1-03 [Initialize Parameters] does not initialize this parameter.
This parameter is set to the correct value when the drive is shipped. Change the value only in these conditions:
Side-by-Side installation
When you install a UL Type 1 kit on an IP20/UL Open Type drive to convert the drive to an IP20/UL Type 1 drive.
The overload protection detection level for the drive is automatically adjusted to the optimal value in accordance
with the setting value. Refer to Derating Depending on Ambient Temperature on page 444 for information about
derating as specified by ambient temperature.
0 : IP20/UL Open Type/Ex Heatsink
Use this setting to install IP20/UL Open Type drives or when the heatsink (cooling fin) is outside the enclosure
panel.
Make sure that there is 30 mm (1.18 in) minimum of space between drives or between the drive and side of the
enclosure panel.
1 : Side-by-Side Mounting
Use this setting to install more than one drive side-by-side.
Make sure that there is 2 mm (0.08 in) minimum of space between drives.
2 : IP20/UL Type 1
Use this setting to install IP20/UL Type 1 drives.
3 : Finless
V/f
CL-V/f
OLV
CLV
AOLV
OLV/PM OLV/PM
AOLV/PM
CLV/PM
EZOLV
V/f
CL-V/f
OLV
CLV
AOLV
OLV/PM OLV/PM
AOLV/PM
CLV/PM
EZOLV

Table of Contents

Related product manuals