EasyManua.ls Logo

Sinee EM500 - Main and Auxiliary Arithmetic Setting; Torque Setting Mode

Sinee EM500
459 pages
Print Icon
To Next Page IconTo Next Page
To Next Page IconTo Next Page
To Previous Page IconTo Previous Page
To Previous Page IconTo Previous Page
Loading...
EM500 Open-Loop Vector Control Inverter User Manual
20
As indicated in Figure 1-3, when auxiliary frequency source B is being set, the
setting of F00.05 will be based upon to determine present setting channel. Process PID
and Simple PLC can participate in the setting.
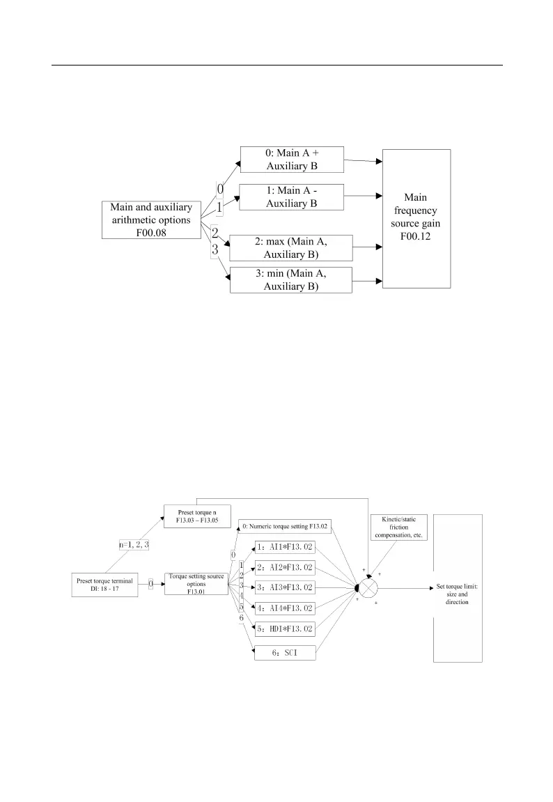
Figure 1-4 Main and Auxiliary Arithmetic Setting
As indicated in Figure 1-4, main and auxiliary arithmetic can be classified into four
categories. At this time, both main and auxiliary settings are enabled.
Torque setting mode: Motor current is taken as the control object.
Torque setting mode can be set by multiple ways, which include numeric setting,
analog input setting, high-speed pulse input setting, communication setting, digital
potentiometer setting and preset torque setting. In Figure 1-5, various input modes for
torque setting of EM500 are described.
Figure 1-5 Torque Setting Mode

Table of Contents

Related product manuals