EasyManua.ls Logo

Sinee EM500 - Wiring of Cansinee Communication Interface

Sinee EM500
459 pages
Print Icon
To Next Page IconTo Next Page
To Next Page IconTo Next Page
To Previous Page IconTo Previous Page
To Previous Page IconTo Previous Page
Loading...
EM500 Open-Loop Vector Control Inverter User Manual
56
Figure 3-21 Wiring of Communication Interface
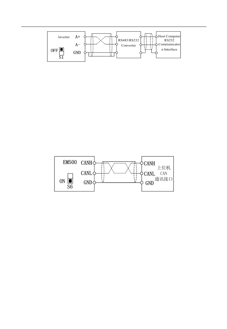
3.3.9 Wiring of CANSinee Communication interface
The terminal board RJ45 interface CANH, CANL is the frequency changer
CANSinee main line connection, through the connection with on host machine
communication, achieve PC (PC or PLC controller) and the inverter network control.
More than one inverter is connected, multi-machine communication can be achieved
between. PC and EM500 series inverter connected as shown in Figure 3 22, Figure 3 23
shows.
Single inverter CANSinee bus directly connected with the host computer
Communication:
Figure 3 22 single inverter CANSinee communication wiring
Multiple inverter CANSinee bus connection with the host computer Communication:

Table of Contents

Related product manuals