EasyManua.ls Logo

Siemens SINAMICS S220

Siemens SINAMICS S220
320 pages
To Next Page IconTo Next Page
To Next Page IconTo Next Page
To Previous Page IconTo Previous Page
To Previous Page IconTo Previous Page
Loading...
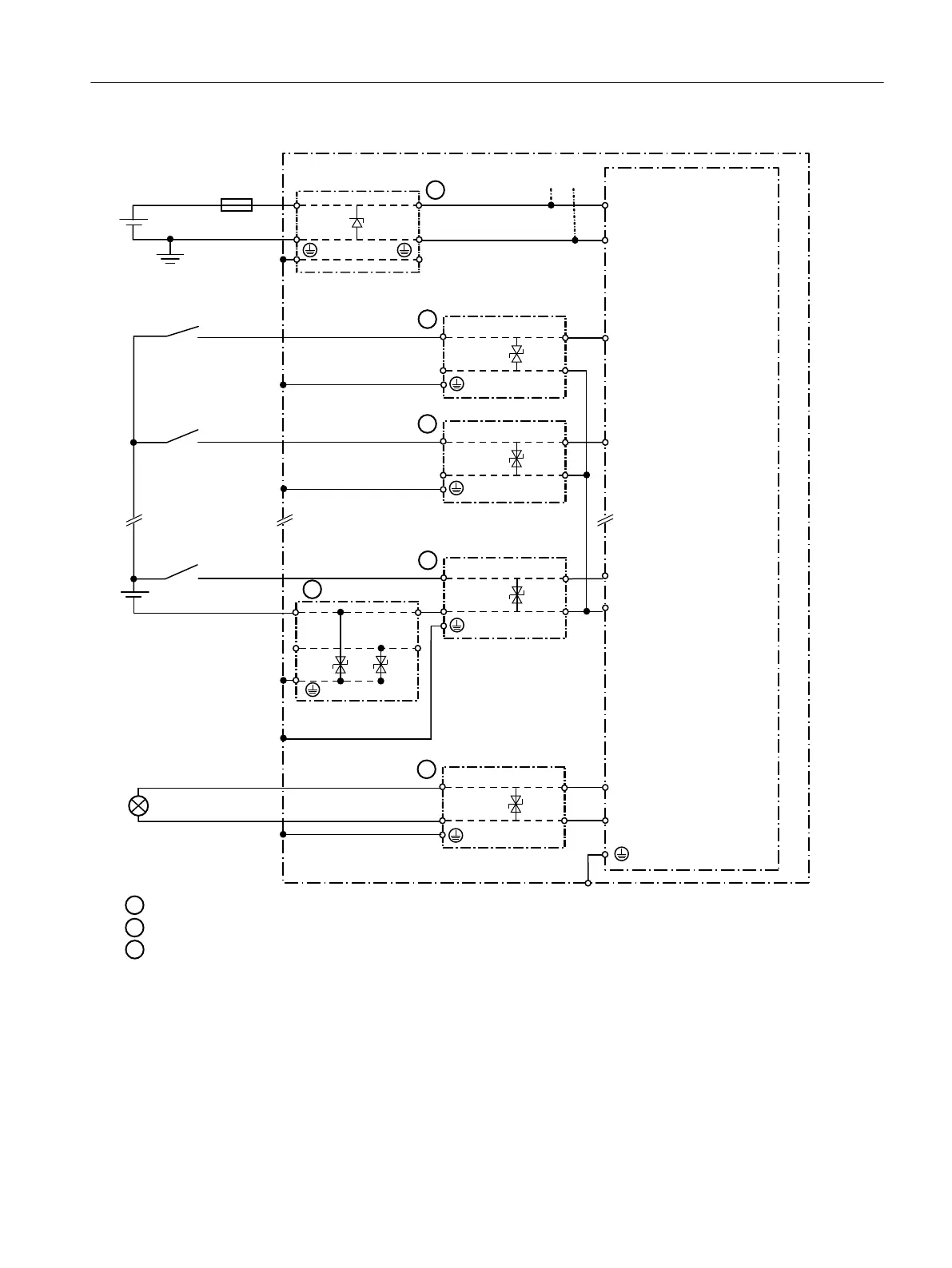
24 V overvoltage protection supply
24 V overvoltage protection signal cable differential
24 V overvoltage protection signal cable protective conductor
Outputs
Isolated inputs
SINAMICS component, e.g.
CU320-2 DP
Area to be protected (e.g. control cabinet)
To additional
components
1)
F
P24
M
DI 0
1) 2)
M
DO 10
2
3
2
1
1
DO 10
M1
M1
DI 17
DI 17
DI 1
DI 1
DI 0
0 V
+24 V
0 V
X124 M
X124 +
+24 V
1) 2)
P24
1) 2)
2'
2
1 1'
1)
2'
2
1 1'
M
2
2'2
1 1'
2
2'2
1 1'
2
2'2
1 1'
3
1) The metal enclosure of the component and the protective conductor connection of the overvoltage protection ele‐
ment must be connected with one another in a way that ensures good conductivity (equipotential bonding). You can
achieve this, for example, by mounting the component on a metal mounting plate in a way that ensures good
conductivity and connecting the protective conductor connections of the overvoltage protection elements to the
mounting plate through the shortest distance.
2) By snapping the overvoltage protection element for the signal cables onto a metal DIN rail, the protective conductor
connection is connected to the rail. In this case, it is su󹪟cient to establish a good conductive connection between the
DIN rail and the metallic enclosure of the component (equipotential bonding). To establish this connection, you must
mount the DIN rail and the component on a common metal mounting plate.
Application planning
4.1024 V DC supply voltage
Booksize power units
Equipment Manual, 09/2023, A5E53307519B AA 53

Table of Contents

Related product manuals