EasyManua.ls Logo

Frontier LP7700 - Page 697

Frontier LP7700
904 pages
Print Icon
To Next Page IconTo Next Page
To Next Page IconTo Next Page
To Previous Page IconTo Previous Page
To Previous Page IconTo Previous Page
Loading...
3/6
5. Operation sequence
55500
55500
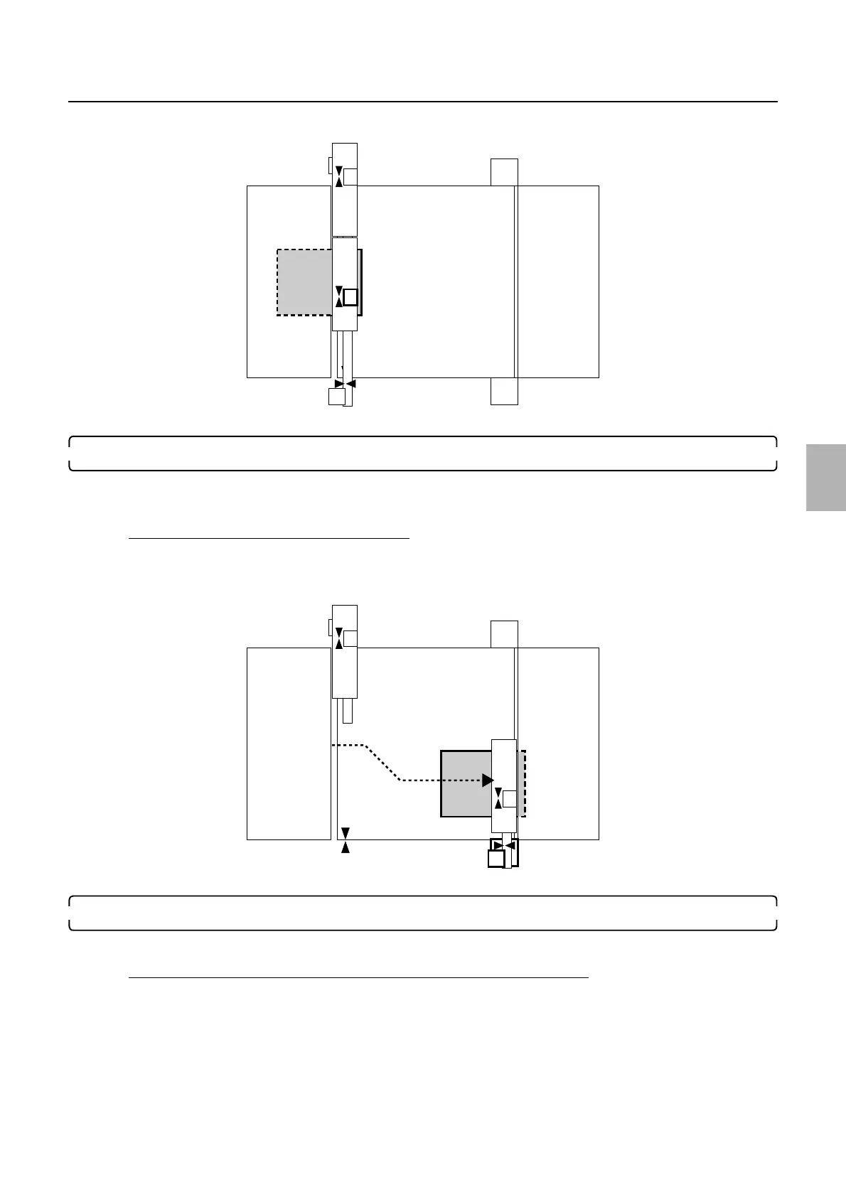
Paper advance operation
5. Arm unit 2 (right) moves to the processor loading unit.
Lane select motor (right): ON/OFF
Paper advance arm motor (right): ON/OFF
If the arm sensor (right) does not turn LIGHT
No. 06139-00002
Paper Advance Arm Motor (Right) operation error.
6. Arm unit 2 (right) releases pressure.
Paper advance pressure change motor (right) :ON (released)/OFF
If the paper advance pressure change sensor (right) does not turn LIGHT
No. 06143-00002
Paper Advance Pressure Change Motor (Right) operation error.
G069841
G069842
Distributed by: minilablaser.com

Table of Contents

Related product manuals