EasyManua.ls Logo

Frontier LP7700 - Page 705

Frontier LP7700
904 pages
Print Icon
To Next Page IconTo Next Page
To Next Page IconTo Next Page
To Previous Page IconTo Previous Page
To Previous Page IconTo Previous Page
Loading...
5/6
5. Operation sequence
55510
55510
Paper advance operation
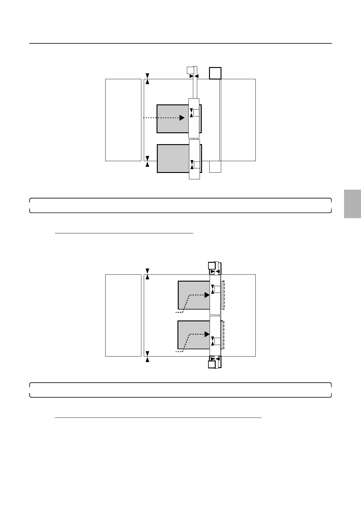
10. Arm units 2 (right) (left) move to the processor loading unit.
Paper advance arm motors (right) (left): ON/OFF
If the lane select sensor (right) does not turn LIGHT
No. 06141-00002
Lane Select Motor (Right) operation error.
11. Arm units 2 (right, left) release the pressure.
Paper advance pressure change motors (right) (left): ON (released)/OFF
If the paper advance pressure change sensors (right) (left) do not turn LIGHT
No. 06142-00002
Paper Advance Pressure Change Motor (Left) operation error.
No. 06143-00002
Paper Advance Pressure Change Motor (Right) operation error.
G069950
G069951
Distributed by: minilablaser.com

Table of Contents

Related product manuals