EasyManua.ls Logo

GE Multilin F650 - Screen Contrast; Text Menus; Navigation

GE Multilin F650
1046 pages
Print Icon
To Next Page IconTo Next Page
To Next Page IconTo Next Page
To Previous Page IconTo Previous Page
To Previous Page IconTo Previous Page
Loading...
CHAPTER 4: INTERFACES, SETTINGS & ACTUAL VALUES 4.2 HUMAN-MACHINE INTERFACE (HMI)
GEK-106310-AF F650 DIGITAL BAY CONTROLLER 4-41
4.2.5 Screen contrast
Regulation of screen contrast should be performed as described below depend on display model selected:
Basic HMI:Dedicated screen contrast regulator is located below cover sealing system. See Figure 4-21: Detail of front port
and cover sealing system.
Enhanced HMI: Backlight level regulation can be performed by using enhanced keypad. Reset button must be pressed at
the same time that the up or down key is pressed to increase or decrease the contrast.
4.2.6 Text menus
4.2.6.1 Navigation
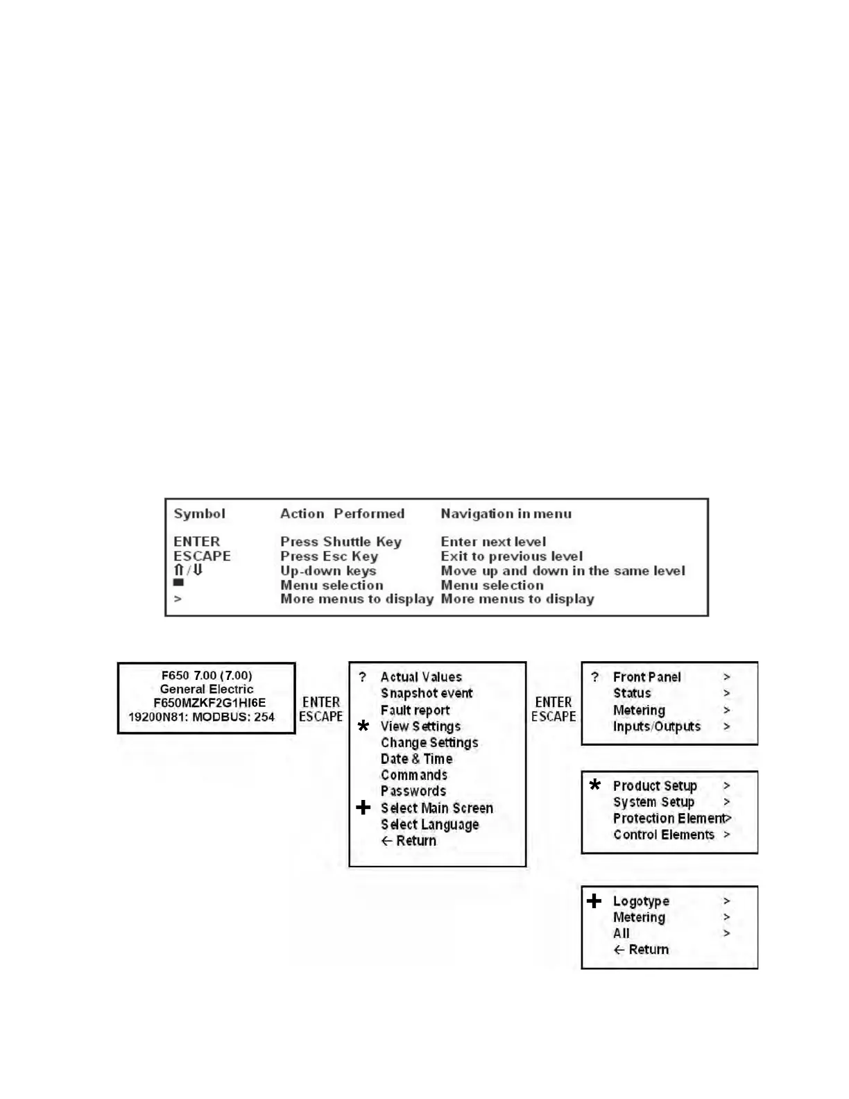
Text menu is available for all models, this is the main menu for visualizing actual values, metering, changing settings, etc.
through the HMI. In models with graphical display besides this text main menu there are several screens providing more
performance for control purposes.
Press (or rotate left or right) the enter/shuttle key to enter the main menu, starting from the standby screen (default main
screen). The default main screen can be accessed pressing ESC key until it appears. In all the navigation press the enter/
shuttle key to select the desired header display (top-level menu). Each press of the enter/shuttle key advances through the
main heading pages as illustrated below. To return to previous menus press the ESC key. To move inside the top-level
menu without changing to other low levels, rotate the shuttle key left to move up and right to move down (or use up/down
keys).
When rotating the shuttle key (or up/down keys) the selected menu is marked by a single scroll bar character. The mark (>)
in the right part of any menu means that contains more than one level.
Figure 4-22: Text menu navigation Shows an example of main menu navigation:
Figure 4-22: Text menu navigation

Table of Contents