EasyManua.ls Logo

Dynon SkyView HDX - SkyView D37 M Block Diagram

Dynon SkyView HDX
374 pages
Print Icon
To Next Page IconTo Next Page
To Next Page IconTo Next Page
To Previous Page IconTo Previous Page
To Previous Page IconTo Previous Page
Loading...
Appendix C: Wiring and Electrical Connections
SkyView HDX System Installation Manual - Revision E 25-9
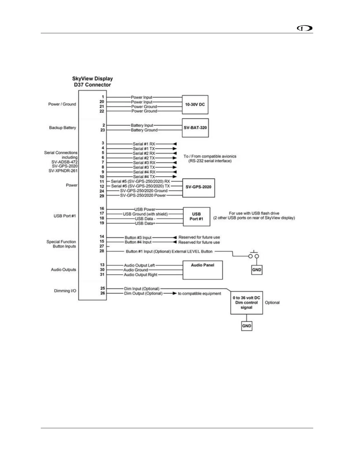
25.6.3 SkyView D37M Block Diagram
Figure 141 below illustrates basic SkyView display D37 electrical connections.
Figure 141: SkyView Display’s D37M Connector Electrical Connections

Table of Contents

Other manuals for Dynon SkyView HDX

Related product manuals