EasyManua.ls Logo

EDM Solution Ultima 844 - Connections of Split EOL Resistors Using N;O Contacts

Default Icon
314 pages
Print Icon
To Next Page IconTo Next Page
To Next Page IconTo Next Page
To Previous Page IconTo Previous Page
To Previous Page IconTo Previous Page
Loading...
168 Solution Ultima 844/862/880 Installation Manual
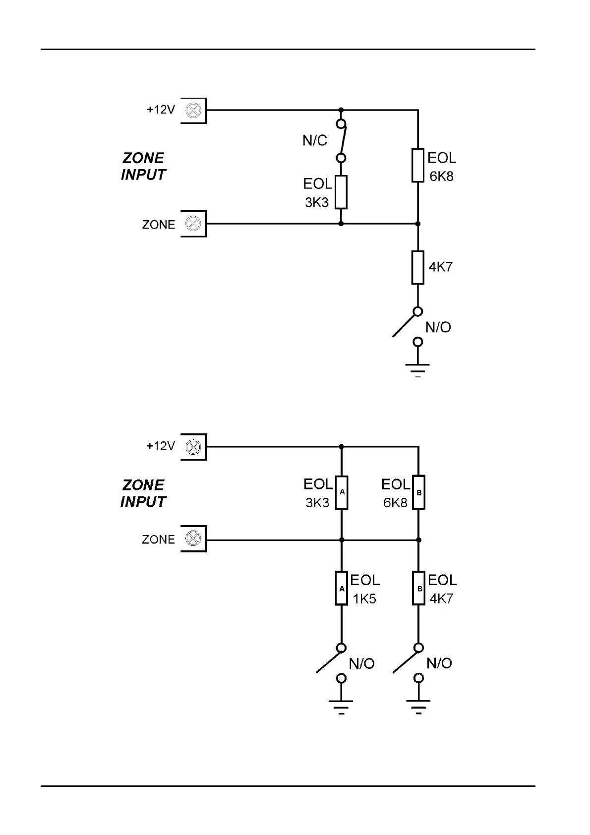
Connections Of Split EOL Resistors Using N/O Contacts
Figure 8: Connections Of Split EOL Resistors Using One N/O Contact
Figure 9: Connections Of Split EOL Using Two N/O Contacts
ISSUE162.DOC Electronics Design and Manufacturing Pty Limited

Table of Contents

Related product manuals