EasyManua.ls Logo

KAESER ESD.2C - Fig. 2 Correct Use of RCD; Further Requirements; Grounded Conductor Specification; Power Supply Specifications

KAESER ESD.2C
413 pages
Print Icon
To Next Page IconTo Next Page
To Next Page IconTo Next Page
To Previous Page IconTo Previous Page
To Previous Page IconTo Previous Page
Loading...
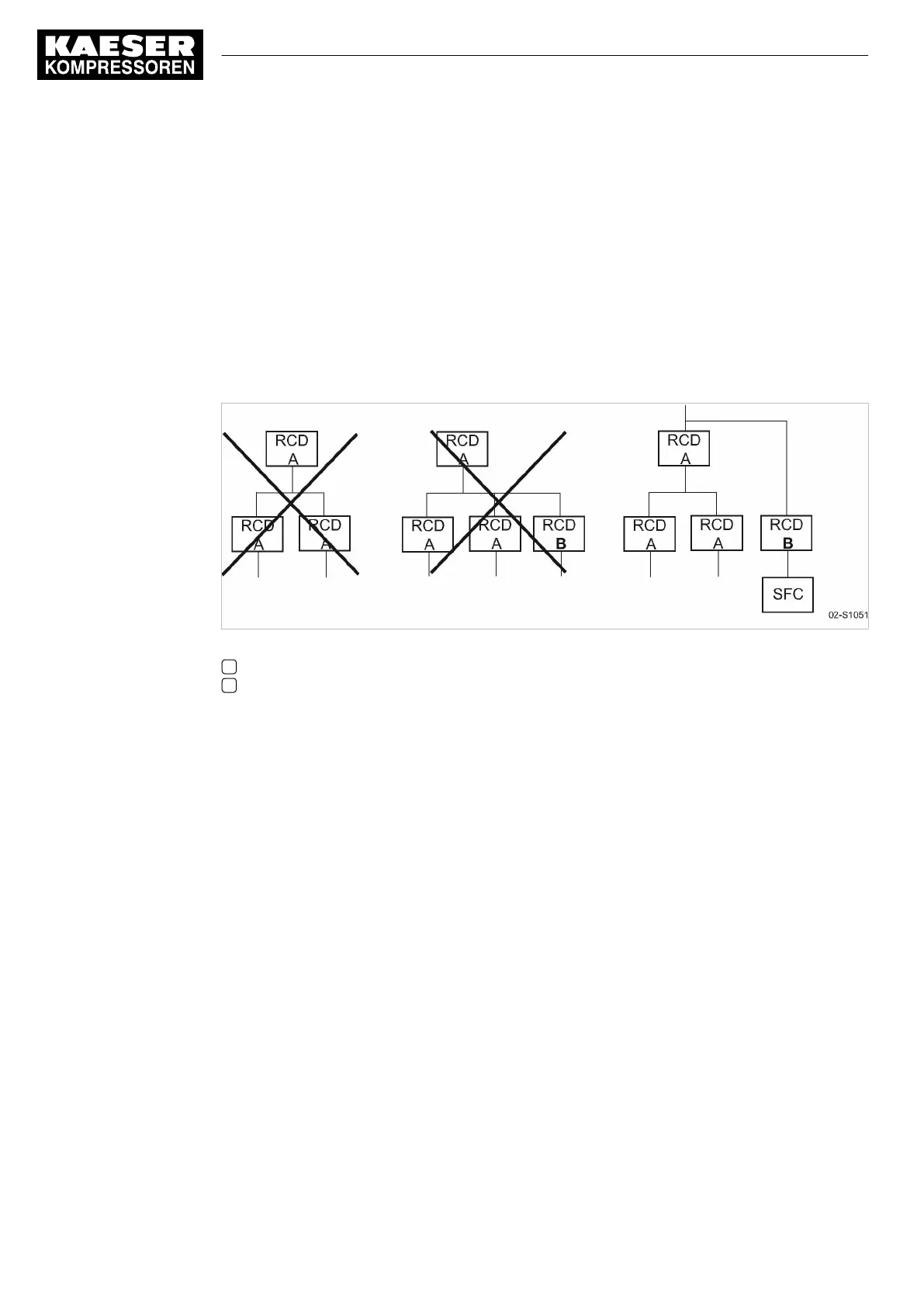
Further requirements
RCD Type A:
A Type A RCD cannot detect residual DC currents in the event of a UPS system, Frequency Con‐
verter, or other types of device in which DC is utilized faults. Because of the presence of these DC
residual currents, a Type A device is ineffective at sensing AC residual currents or pulsating DC
currents therefore the device may not trip if a fault occurs.
RCD Type B:
Type B devices not only detect AC residual currents but also DC (smooth) residual and DC pulse
residual currents, which allows the RCD to be applied with all types of residual current. Type B de‐
vices are recommended in applications of 3 phase systems before circuits with rectifiers. They
should not be used in DC only systems or where a frequency of other than 50 Hz or 60 Hz is used.
Fig. 2 Correct use of RCD
A RCD Type A (Pulse current sensitive)
B RCD Type B (Universal current sensitive)
Further information The wiring diagram in chapter 13.3 contains further details of the power supply connection.
2.14 Power supply specifications
The following multi-strand copper core wires are given according to 2012 NEC 310.15, Ta‐
ble 310.16 for 40 °C ambient temperature.
If other local conditions prevail, like for example high temperature, the cross section should be
checked and adjusted according to 2012 NEC 110.14©, 220.3, 310.15, Table 310.16, 430.6,
430.22, 430.24 and other local codes.
Dual element time delay fuses are selected according to 2012 NEC 240.6, 430.52 and Ta‐
bles 430.52, 430.248 and 430.250.
We strongly suggest using a separate copper conductor for the equipment GROUNDING. NEC
Table 250.122 will point out the ”minimum size”, however, we recommend a ground conductor the
same size as the power leads, if local codes allow.
2.14.1 Grounded conductor specification
All grounded conductors should be sized in accordance with NEC code and local regulations. With
the leakage currents present in frequency converter applications, a ground conductor sized no
smaller than 6 AWG is recommended.
2 Technical Specifications
2.14 Power supply specifications
10
Service Manual Screw Compressor
ESD 442/14 bar (abs) SFC SIGMA CONTROL 2 ESD_2C_10357405_10–LIN_00 E

Table of Contents

Related product manuals