EasyManua.ls Logo

Dynon Avionics SkyView Classic - Page 38

Default Icon
573 pages
Print Icon
To Next Page IconTo Next Page
To Next Page IconTo Next Page
To Previous Page IconTo Previous Page
To Previous Page IconTo Previous Page
Loading...
System Planning
2-16 SkyView System Installation Guide - Revision AA
Note, that in Figure 8, each SV-GPS-250/2020’s power, ground, and output wires
are connected to both displays on different serial ports. The primary SV-GPS-
250/2020 should be connected to serial port 5 on each display. The secondary SV-
GPS-250/2020 should be connected on another serial port on each display.
Additionally, if there are both multiple displays and multiple SV-GPS-250/2020
units in the system, power for the secondary GPS should be sourced from the GPS
power wire on the second display in other words, each SV-GPS-250/2020 should
receive power from a different display. Reference the SV-GPS-250/2020 GPS
Receiver Installation and Configuration Section for more information on this
configuration.
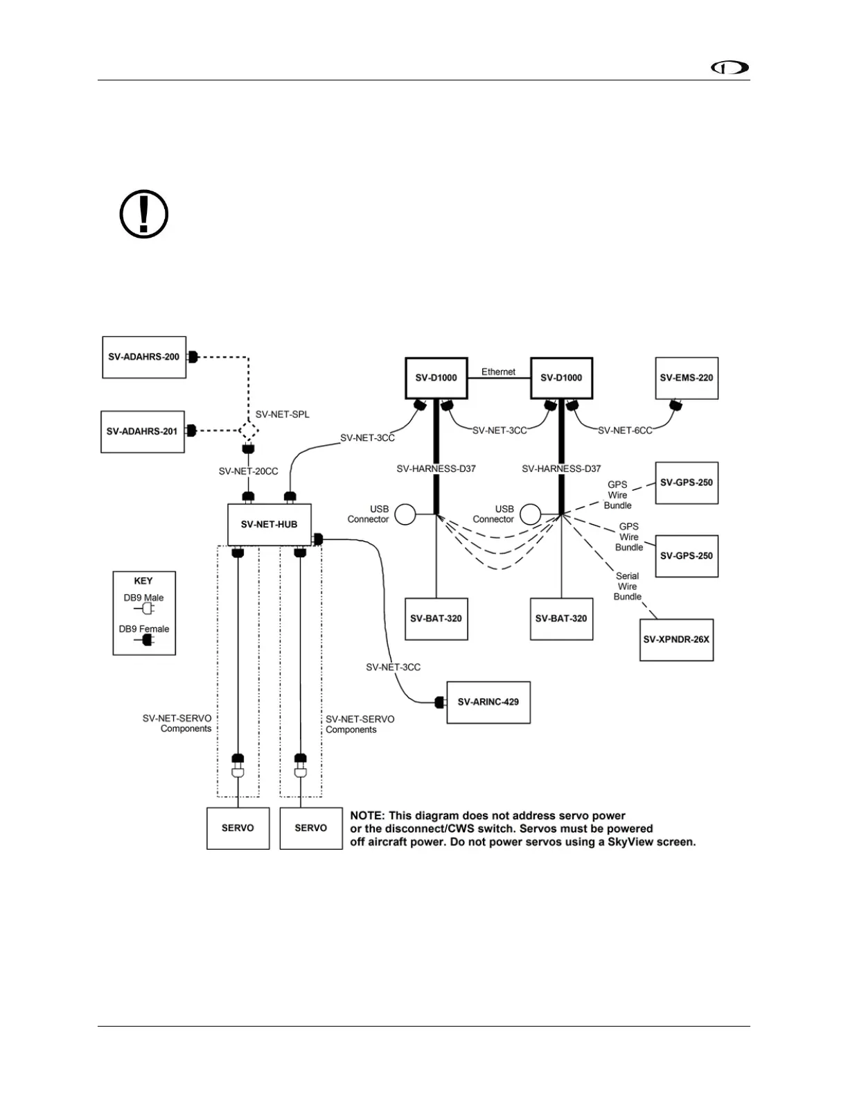
Figure 9 SkyView System with Two Redundant Displays, One EMS, Two Backup Batteries (One per Display),
Two Redundant GPS, Two Redundant ADAHRS, Two Servos, and one Transponder using a hub (recommended
installation method)

Table of Contents

Related product manuals