EasyManua.ls Logo

Dynon Avionics SkyView Classic - Page 391

Default Icon
573 pages
Print Icon
To Next Page IconTo Next Page
To Next Page IconTo Next Page
To Previous Page IconTo Previous Page
To Previous Page IconTo Previous Page
Loading...
SV-COM-C25 Installation and Configuration
SkyView System Installation Guide - Revision AA 16-9
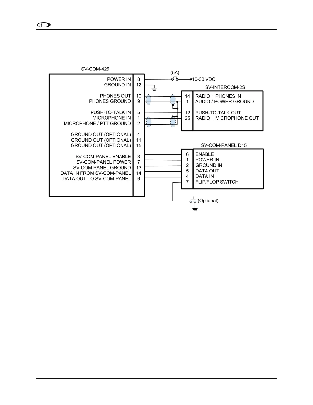
Note that SkyView Network connection(s) on SV-COM-PANEL are not shown, nor are additional
connections between the SV-INTERCOM-2S and other devices that it connects to.
Figure 180 Single SV-COM-C25 to SV-INTERCOM-2S
Single SV-COM-C25 to SV-INTERCOM-2S Harness Construction Notes
Shielded cable between SV-COM-425 Pins 9 and 10, and SV-INTERCOM-2S Pins 1 and 14:
This cable consists of two wires plus shield.
Use one of the wires to connect SV-COM-425 Pin 10 to SV-INTERCOM-2S Pin 14.
Use the other wire to connect SV-COM-425 Pin 9 to SV-INTERCOM-2S Pin 1 (see
instructions below - Terminating Shielded Cables to Pin 1 of SV-INTERCOM-2S).
On the SV-COM-425 end, continue the shield as far into the connector as possible until
you're forced to pare it back to access the two inner wires. Put some heat shrink tubing
over the shield to keep it electrically isolated - the shield at the SV-COM-425 end of this
cable is not electrically connected at the SV-COM-425.
On the SV-INTERCOM-2S end, prep the shield into a "pigtail" so that you can solder to it
(see below).

Table of Contents

Related product manuals