EasyManua.ls Logo

Fujitsu 1FINITY L100 - Page 346

Fujitsu 1FINITY L100
473 pages
Print Icon
To Next Page IconTo Next Page
To Next Page IconTo Next Page
To Previous Page IconTo Previous Page
To Previous Page IconTo Previous Page
Loading...
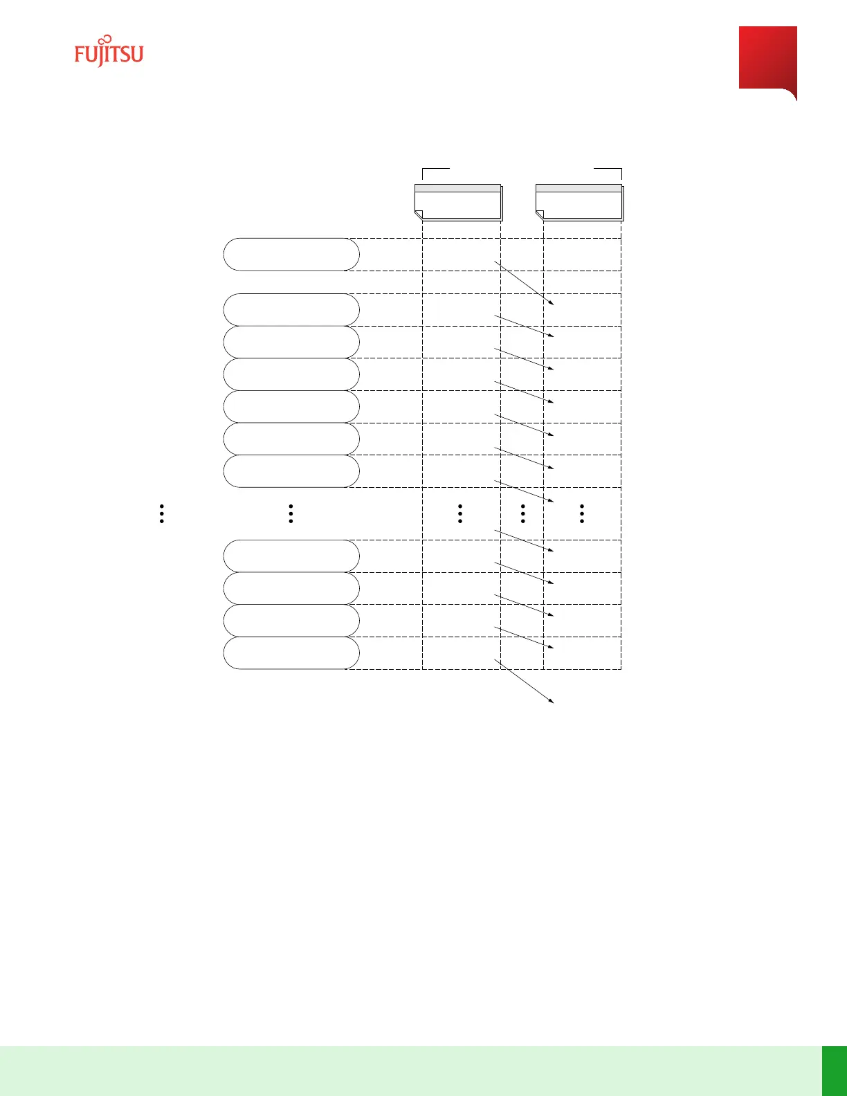
1st Previous 15 min.
2nd Previous 15 min.
3rd Previous 15 min.
4th Previous 15 min.
5th Previous 15 min.
6th Previous 15 min.
29th Previous 15 min.
30th Previous 15 min.
31st Previous 15 min.
32nd Previous 15 min.
Current 15 min.
Registers
9:15 - 9:18
9:00 - 9:15
8:45 - 9:00
8:30 - 8:45
8:15 - 8:30
8:00 - 8:15
7:45 - 8:00
2:00 - 2:15
1:45 - 2:00
1:30 - 1:45
1:15 - 1:30
Period of Each Register Content
NOW=
9:18 AM
9:15 - 9:30
9:00 - 9:15
8:45 - 9:00
8:30 - 8:45
8:15 - 8:30
8:00 - 8:15
1:45 - 2:00
2:00 - 2:15
1:45 - 2:00
1:30 - 1:45
Throw Away
NOW=
9:30 AM
s9502bl_1
Figure 110
Performance Registers—Current and Previous 15 Minutes
System Maintenance
Performance Monitoring Counters
346
Release 19.1.1 · Issue 1.1, May 2021
Fujitsu and Fujitsu Customer Use Only

Table of Contents

Related product manuals