EasyManua.ls Logo

Dynon Avionics SkyView Classic - Page 263

Default Icon
573 pages
Print Icon
To Next Page IconTo Next Page
To Next Page IconTo Next Page
To Previous Page IconTo Previous Page
To Previous Page IconTo Previous Page
Loading...
AP Servo Installation, Configuration, and Calibration
SkyView System Installation Guide - Revision AA 10-9
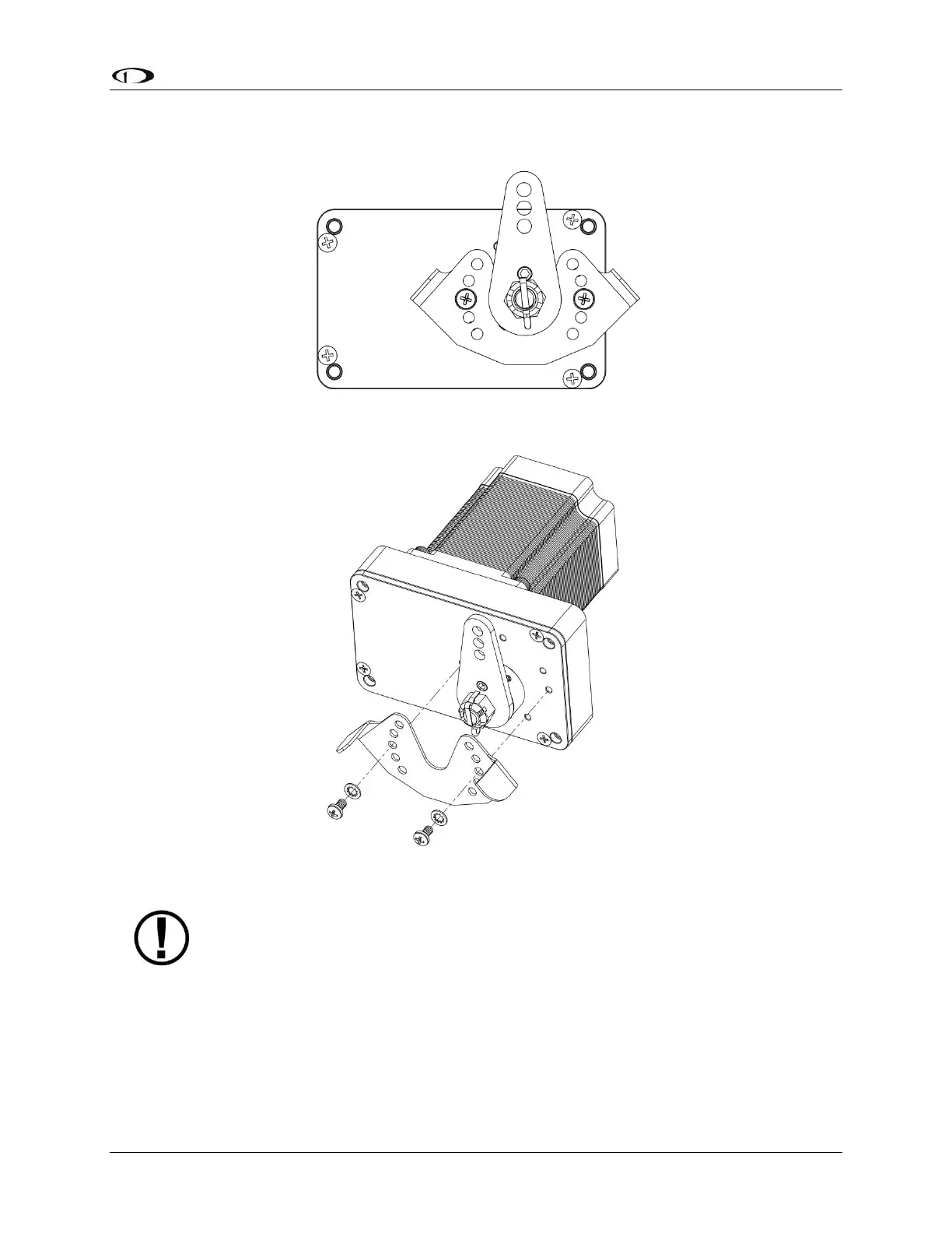
demonstrated below. Use only the screws that are provided or specified in the Range of Motion
Limiting Bracket Kit Installation Instructions (include with the Bracket Kit).
Figure 112 Servo Range of Motion Limiting Bracket, Front
Figure 113 Servo Range of Motion Limiting Bracket - Isometric
The bushings and other mechanical components in Dynon Avionics Autopilot
servos are self-lubricating and should not be additionally lubricated.
Minimizing Free Play
It is important that the autopilot servo have positive control of the aircraft control surface
when engaged. If there is free play or “slop” anywhere between the servo, the linkages that
connect it to the aircraft, and the aircraft control surface, the autopilot’s performance may
suffer. To test for free play:

Table of Contents

Related product manuals