EasyManua.ls Logo

Lexmark Optra W810 - Paper Cassette Drive System; Paper Cassette Electrical Components

Lexmark Optra W810
489 pages
Print Icon
To Next Page IconTo Next Page
To Next Page IconTo Next Page
To Previous Page IconTo Previous Page
To Previous Page IconTo Previous Page
Loading...
5-14 Service Manual
4023-001
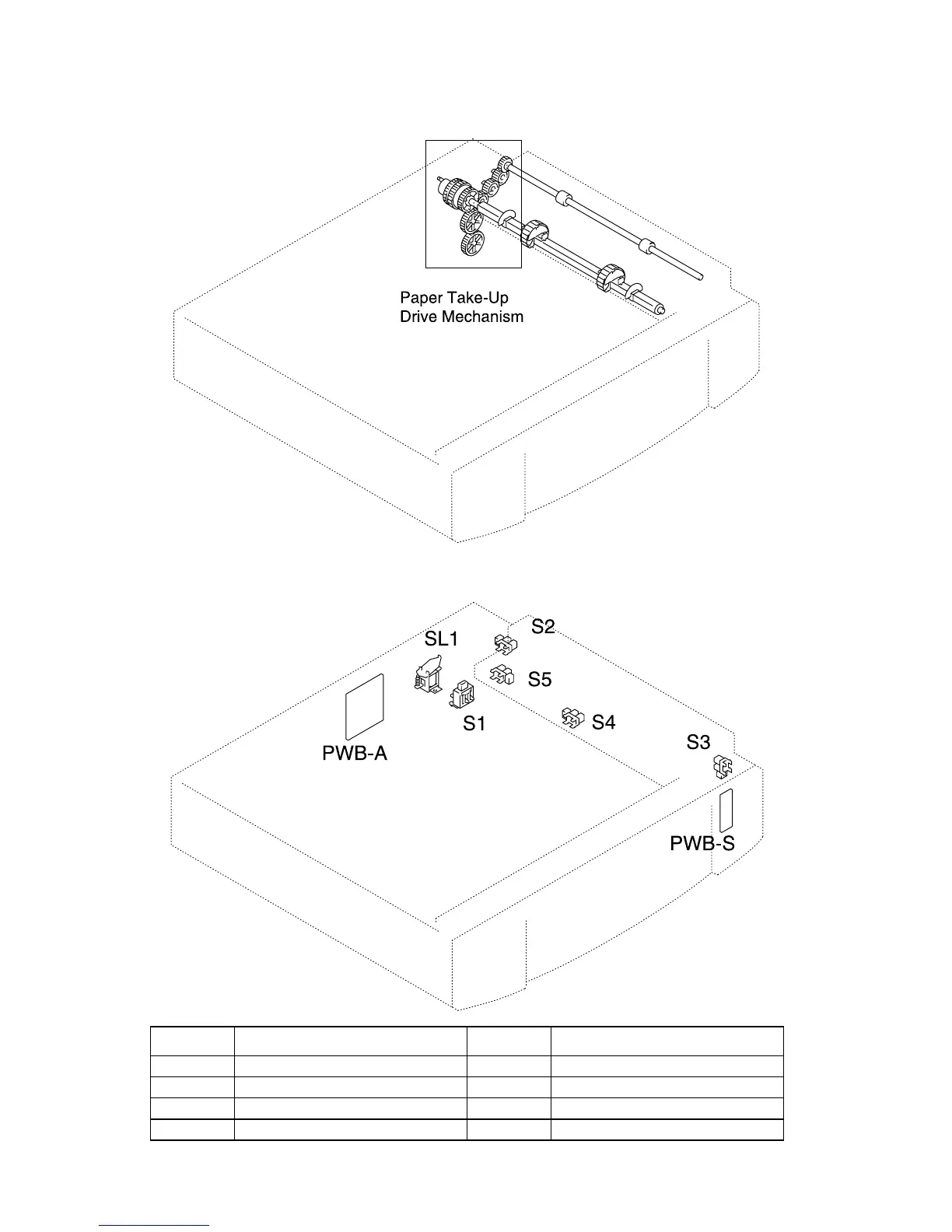
Paper Cassette Drive System
Paper Cassette Electrical Components
Symbol Name Symbol Name
PWB-A Cassette Main Board S2 Side Cover Set Sensor
PWB-S Paper Size Detecting Board S3 Take-Up Sensor
SL1 Take-Up Solenoid S4 Paper Empty Sensor
S1 Cassette Set Switch S5 Paper Near Empty Sensor

Table of Contents

Other manuals for Lexmark Optra W810

Related product manuals