EasyManua.ls Logo

Lexmark Optra W810 - Page 77

Lexmark Optra W810
489 pages
Print Icon
To Next Page IconTo Next Page
To Next Page IconTo Next Page
To Previous Page IconTo Previous Page
To Previous Page IconTo Previous Page
Loading...
General Information 1-51
4023-001
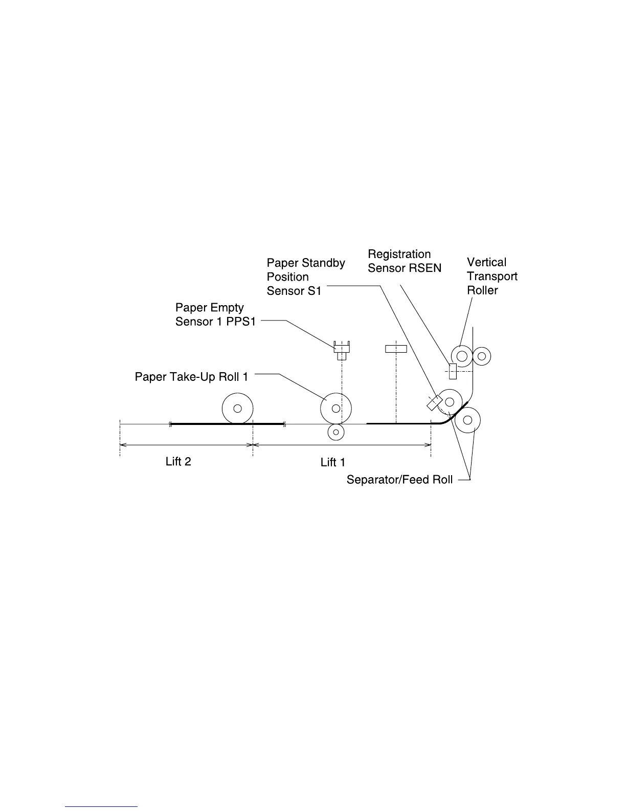
After the printer sends a paper take-up signal, the separator/feed
rolls and paper take-up roll 1 transports the paper until the paper
blocks registration sensor RSEN. The paper travels a little further to
reach the vertical transport roller and form a registration loop before
stopping. The vertical transport roller transports the paper to the
printer.
After the trailing edge of the paper transported by the vertical
transport roller unblocks paper empty sensor 1 PPS1, paper take-up
roll 1 and 2 transport the subsequent sheet of paper until the
subsequent sheet of paper blocks PPS1.

Table of Contents

Other manuals for Lexmark Optra W810

Related product manuals