EasyManua.ls Logo

Daewoo MATIZ - Page 222

Daewoo MATIZ
1184 pages
Print Icon
To Next Page IconTo Next Page
To Next Page IconTo Next Page
To Previous Page IconTo Previous Page
To Previous Page IconTo Previous Page
Loading...
1F124 ENGINE CONTROLS
DAEWOO M-150 BL2
MAA1F150
DIAGNOSTIC TROUBLE CODE (DTC) P0262 INJECTOR 1 HIGH VOLTAGE
Circuit Description
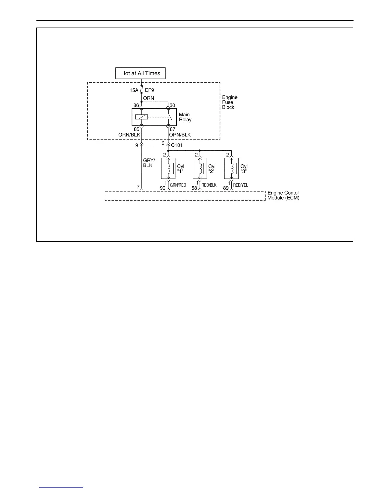
The engine control module (ECM) has three individual
injector driver circuits, each of which controls an injector.
When a driver circuit is grounded by the ECM, the injec-
tor is activated. The ECM monitors the current in each
driver circuit. The ECM measures a voltage drop
through a fixed resistor and controls it. The voltage on
each driver is monitored to detect a fault. If the voltage is
not what the ECM expects to monitor on the circuit, a
Diagnostic Trouble Code (DTC) is set. This DTC detects
a low voltage and/or an open circuit and high voltage
conditions for low-side drive injector outputs.
Conditions for Setting the DTC
D This DTC can be stored in key-on status.
D The injector voltage does not equal the ignition volt-
age when the injector is commanded OFF, or the in-
jector voltage does not equal 0 volts when the injector
is commanded ON.
D The battery voltage is more than 16 volts.
D The above conditions are met for 5seconds.
Action Taken when the DTC Sets
D The Malfunction Indicator Lamp (MIL) will illuminate.
D The ECM will record operating conditions at the time
the diagnostic fails. This information will be stored in
the Freeze Frame and Records buffers.
D A history DTC is stored.
Conditions for Clearing the MIL/DTC
D The MIL will turn off after 4 consecutive ignition
cycles in which the diagnostic runs without a fault.
D A history DTC will clear after 40 consecutive warm up
cycles without a fault.
D DTC(s) can be cleared by using the scan tool.
DIAGNOSTIC AIDS
An injector 4river circuit that is open or shorted to volt-
age will causes a DTC P0262 to set. It will also cause a
misfire due to an inoperative injector. A misfire DTC
should also be set indicating which injector is inopera-
tive.
Long-term and short-terms fuel trims that are excessive-
ly high or low are a good indication that an injector is
malfunctioning. Refer to Fuel Injector 2alance Test in
this Section to check for malfunctioning injectors.
The injector resistance tested at the ECM connection is
slightly more than it tested directly at the injector
2ecause it includes resistance of the harness wires. The
normal value is about 13.5.

Table of Contents

Related product manuals