EasyManua.ls Logo

Daewoo MATIZ - Engine Cooling Fan Circuit Check

Daewoo MATIZ
1184 pages
Print Icon
To Next Page IconTo Next Page
To Next Page IconTo Next Page
To Previous Page IconTo Previous Page
To Previous Page IconTo Previous Page
Loading...
1F48 ENGINE CONTROLS
DAEWOO M-150 BL2
MAA1F090
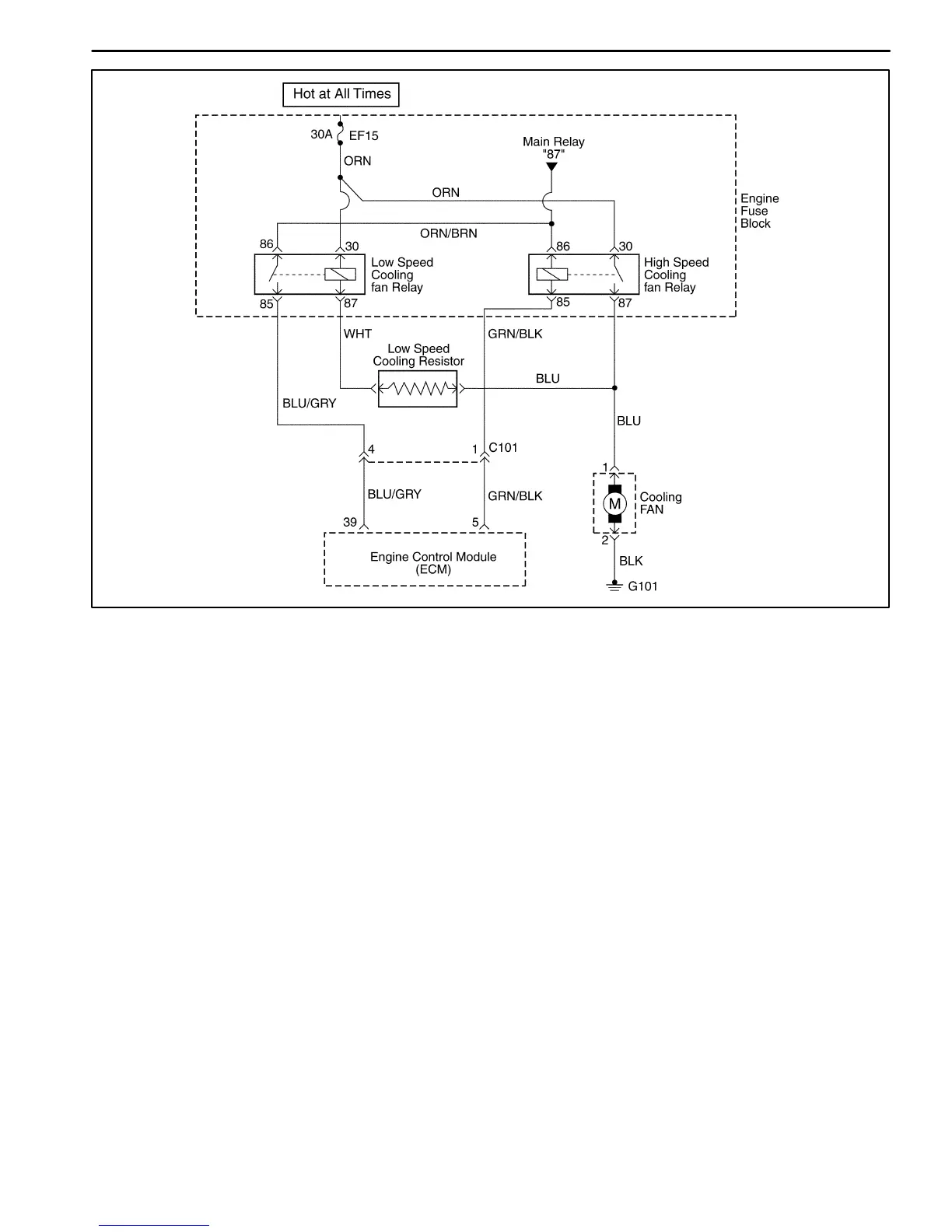
ENGINE COOLING FAN CIRCUIT CHECK
Circuit Description
The engine cooling fan circuit operates the cooling fan.
The cooling fan is controlled by the engine control mod-
ule (ECM) based on input from the coolant temperature
sensor (CTS) and the A/C ON/OFF. The ECM controls
the low speed cooling fan operation by internally ground-
ing the ECM connector terminal 39. This energizes the
low speed cooling fan relay and operates the cooling fan
at low speed. The low speed cooling fan operation is
achieved by the cooling fan resistor causing a drop in
the voltage supplied to the cooling fan. The ECM con-
trols the high speed cooling fan operation by internally
grounding the ECM connector terminal 5. This ener-
gizes the high speed cooling fan relay, bypassing the ra-
diator fan resistor. This results in high speed cooling fan
operation.
Diagnostic Aids
D If the owner complained of an overheating problem, it
must be determined if the complaint was due to an
actual boil over, or the engine coolant temperature
gauge indicated overheating. If the engine is over-
heating and the cooling fans are on, the cooling sys-
tem should be checked.
D If the engine fuse block fuse EF15 become open
(blown) immediately after installation, inspect for a
short to ground in the wiring of the appropriate circuit.
If the fuse become open (blown) when the cooling
fans are to be turned on by the Engine Control Mod-
ule (ECM), suspect a faulty cooling fan motor.
D The ECM will turn the cooling fan on at low speed
when the coolant temperature is 93_C (199_F). The
ECM will turn the cooling fans off when the coolant
temperature is 90_C (194_F).
D The ECM will turn the cooling fans on at high speed
when the coolant temperature is 100_C (212_F). The
ECM will change the cooling fans from high speed to
low speed when the coolant temperature is 97_C
(207_F).

Table of Contents

Related product manuals