EasyManua.ls Logo

Daewoo MATIZ - Page 336

Daewoo MATIZ
1184 pages
Print Icon
To Next Page IconTo Next Page
To Next Page IconTo Next Page
To Previous Page IconTo Previous Page
To Previous Page IconTo Previous Page
Loading...
1F238 ENGINE CONTROLS
DAEWOO M-150 BL2
MAA1F270
DIAGNOSTIC TROUBLE CODE (DTC) P0481 HIGH SPEED COOLING FAN
RELAY CIRCUIT FAULT (WITH A/C)
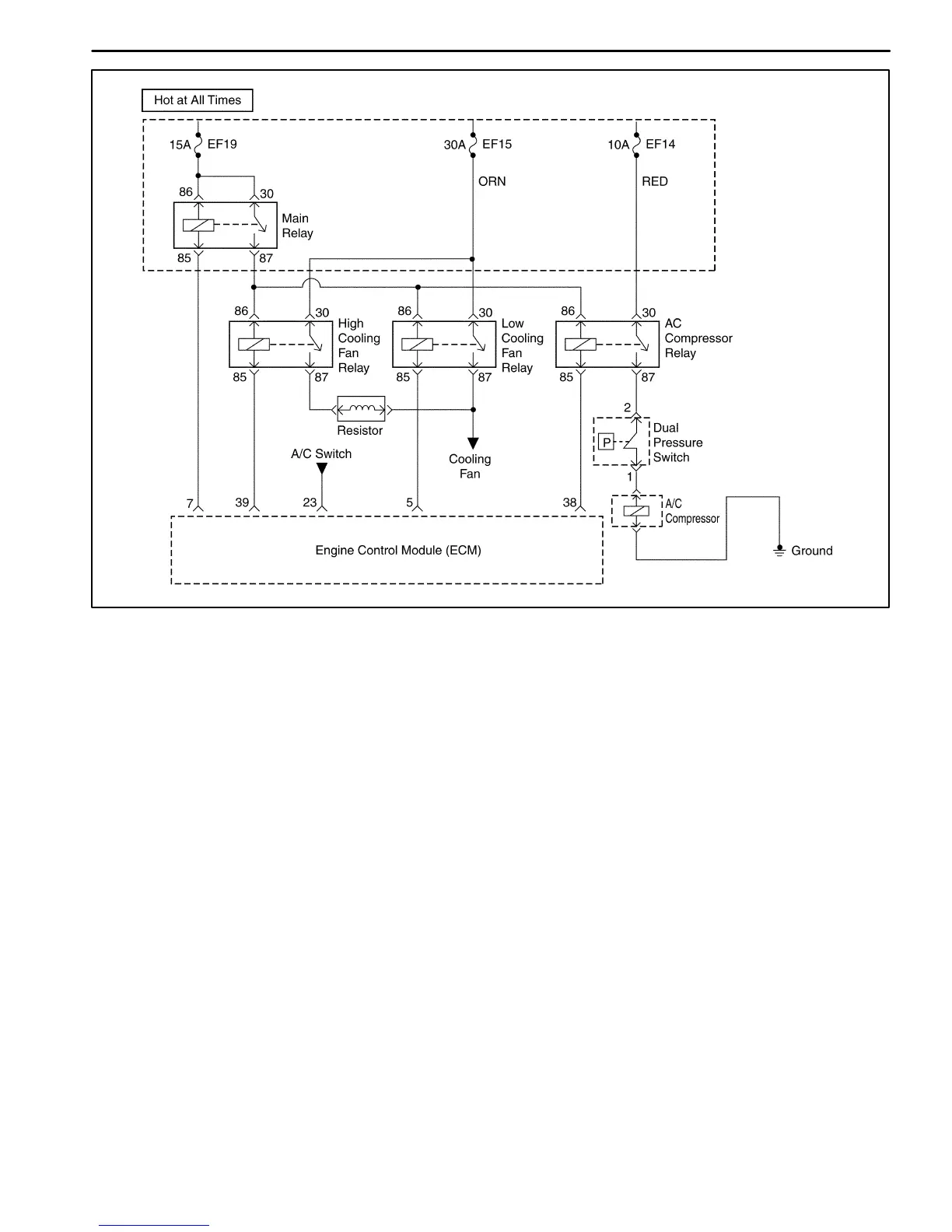
Circuit Description
Ignition voltage is supplied directly to the cooling fan
relay coil. The engine control module(ECM) controls the
relay by grounding the control circuit via an internal
switch called a driver. The primary function of the driver
is supply the ground for the component being controlled.
Each driver has a fault line which is monitored by the
ECM. When the ECM is commanding a component ON,
the voltage of the control circuit should be low (near
0volts). When the ECM is commanding the control cir-
cuit to a component OFF, the voltage potential of the cir-
cuit should be high(near battery voltage). If the fault
detection circuit senses a voltage other than what is ex-
pected, the fault line status will change causing the DTC
to set.
The relay is used to control the high current flow to the
cooling fan motors. This allows the ECM driver to only
have to handle the relatively low current used by the
relay.
Conditions for Setting the DTC
D Diagnostic Trouble Codes (DTCs) P0117, P0118 not
set.
D Ignition ON.
D Ignition voltage is greater than 10 volts.
D Engine run time is greater than 5 seconds.
Action Taken When The DTCs Sets
D The Malfunction Indicator Lamp (MIL) will not illumi-
nate.
D The ECM will store conditions which were present
when the DTC was set as Failure Records data only.
D This information will not be stored in the Freeze
Frame data.
Conditions for Clearing the MIL/DTC
D A history DTC will clear after 40 consecutive warm-up
cycles without a fault.
D DTC(s) can be cleared by using the scan tool.
Diagnostic Aids
Using Freeze Frame and/or failure records data may aid
in locating an intermittent condition. If the DTC cannot
be duplicated, the information included in the Freeze
Frame and/or failure records data can be useful in deter-
mining how many miles since the DTC set. The fail
counter and Pass Counter can also be used to deter-
mine how many ignition cycles the diagnostics reported

Table of Contents

Related product manuals