EasyManua.ls Logo

Daewoo MATIZ - Page 340

Daewoo MATIZ
1184 pages
Print Icon
To Next Page IconTo Next Page
To Next Page IconTo Next Page
To Previous Page IconTo Previous Page
To Previous Page IconTo Previous Page
Loading...
1F242 ENGINE CONTROLS
DAEWOO M-150 BL2
MAA1F280
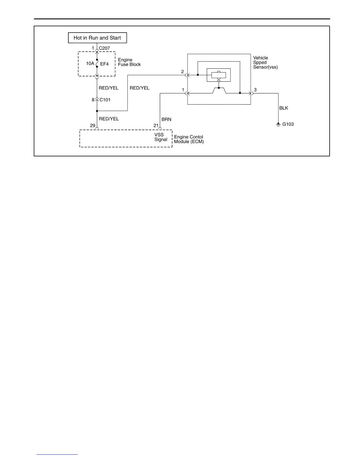
DIAGNOSTIC TROUBLE CODE (DTC) P0501 VEHICLE SPEED NO SIGNAL
(M/T ONLY)
Circuit Description
Vehicle speed information is provided to the engine con-
trol module (ECM) by the voltage speed sensor (VSS) is
a permanent magnet generator that is mounted in the
transaxle and produces a pulsing voltage whenever ve-
hicle speed is over 3 mph (5km/h). The A/C voltage level
and the number of pulses increase with vehicle speed.
The ECM converts the pulsing voltage into mph (km/h)
and than supplies the necessary signal to the instrument
panel for speedometer / odometer operation and to the
cruise control module and multi-function alarm module
operation. The Diagnostic Trouble Code (DTC) will de-
tect if vehicle speed is reasonable according to engine
rpm and load.
Conditions for Setting the DTC
D Vehicle speed is not change at least 10 seconds.
D Engine speed is greater than 2,100rpm.
D MAF is greater than 152mg/tdc.
Action taken when The DTCs Sets
D The Malfunction Indicator Lamp (MIL) will illuminate.
D The ECM will record operating conditions at the time
the diagnostic fails. This information will be stored in
the Freeze Frame and failure records buffers.
D A history DTC is stored.
Conditions for Clearing the MIL/DTC
D The MIL will turn off after four consecutive ignition
cycles in which the diagnostic runs without a fault.
D A history DTC will clear after 40 consecutive warm up
cycles without a fault.
D Using the scan tool can clear DTC(s).
Diagnostic Aids
An Intermittent problem may be caused by a poor con-
nection, rubbed through wire insulation, or wire that is
broken inside the insulation.
VSS signal circuit should be thoroughly checked for the
following conditions
D Backed-out terminals
D Improper mating
D Broken locks
D Improperly formed
D Damaged terminals
D Poor terminals to wire connection
D Physical damage to the wiring harness
Ensure the VSS is correctly torqued to the trnasaxle
housing.
Refer to “intermittents” in this Section.

Table of Contents

Related product manuals