EasyManua.ls Logo

Dell 3115CN - Page 622

Dell 3115CN
823 pages
Print Icon
To Next Page IconTo Next Page
To Next Page IconTo Next Page
To Previous Page IconTo Previous Page
To Previous Page IconTo Previous Page
Loading...
3 - 213
Chapter 3 Removal and Replacement Procedures (RRPs)
Version 2 2007.03.20
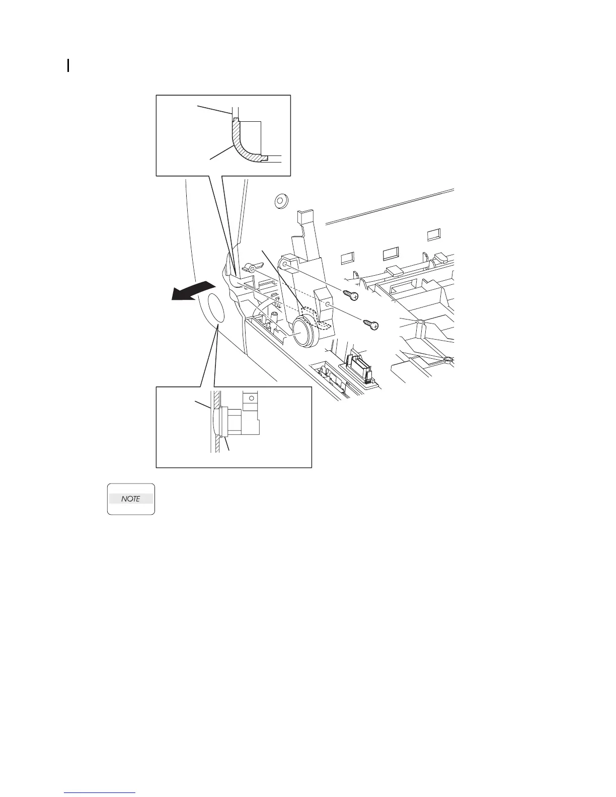
Replacement 66 OPERATOR PANEL (PL13.2.97)
When performing the step descrided below, ensure that the COVER HARNESS is
installed in location as shown in the figure.
6) Mate the rim of the BUTTON TOP with the hole of the FRONT COVER.
7) Put the rim of the COVER HARNESS into the FRONT COVER by spreading the FRONT
COVER.
8) Secure the COVER HARNESS to the FRONT COVER using the two screws (silver, tap,
10mm).
Continues to the next page.
Gnb03223KA
8)
8)
7)-1
7)-2
6)
FRONT
COVER
COVER HARNESS
FRONT
COVER
COVER HARNESS
NOTE

Table of Contents

Other manuals for Dell 3115CN

Related product manuals