EasyManua.ls Logo

Dräger Isolette C2000 - Page 59

Dräger Isolette C2000
524 pages
Print Icon
To Next Page IconTo Next Page
To Next Page IconTo Next Page
To Previous Page IconTo Previous Page
To Previous Page IconTo Previous Page
Loading...
Function Checks
Chapter 2: Troubleshooting Procedures
Page 2 - 18 Isolette® Infant Incubator (Model C2000) Service Manual
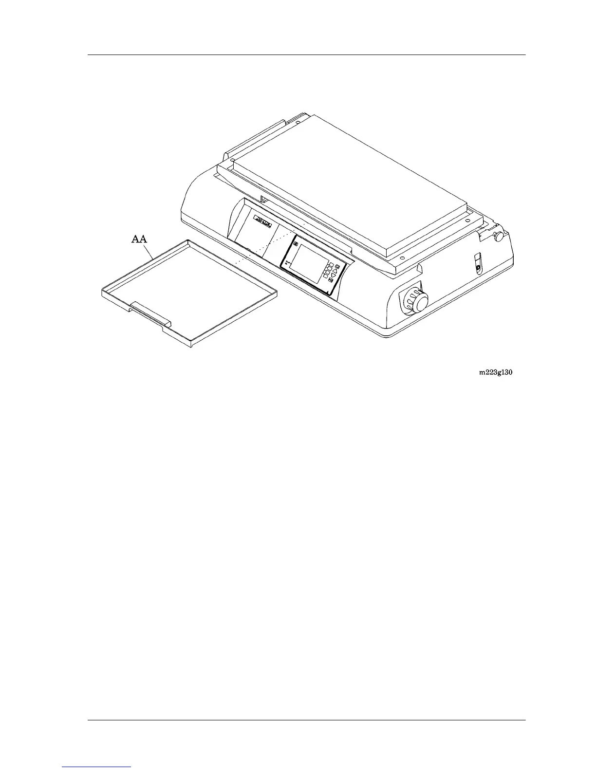
Figure 2-7. X-ray Tray
a. On a unit with a Series 00 hood assembly (D), slide the blue
slide access panel latches (J), and open the access panel (I)
(see figure 2-2 on page 2-11).
or
On a unit with a hood assembly (D) other than Series 00, rotate
the access panel pawl latch knobs (K), and open the access
panel (I).
b. Withdraw the x-ray tray (AA) (see figure 2-7 on page 2-18).
c. Return the x-ray tray (AA) to its original position.
d. Close the access panel (I), and secure it using its blue slide
access panel latches (J) or its access panel pawl latch knobs (K)
(see figure 2-2 on page 2-11).
The x-ray tray (AA) operates correctly (see figure 2-7 on page 2-18).
Yes No
↓→Go to RAP 2.32 on page 2-96.
26.The hood assembly (D) is equipped with a sensor module lock (AB)
(see figure 2-8 on page 2-19).

Table of Contents

Related product manuals