EasyManua.ls Logo

Panasonic FP7 Series - Page 161

Panasonic FP7 Series
1222 pages
Print Icon
To Next Page IconTo Next Page
To Next Page IconTo Next Page
To Previous Page IconTo Previous Page
To Previous Page IconTo Previous Page
Loading...
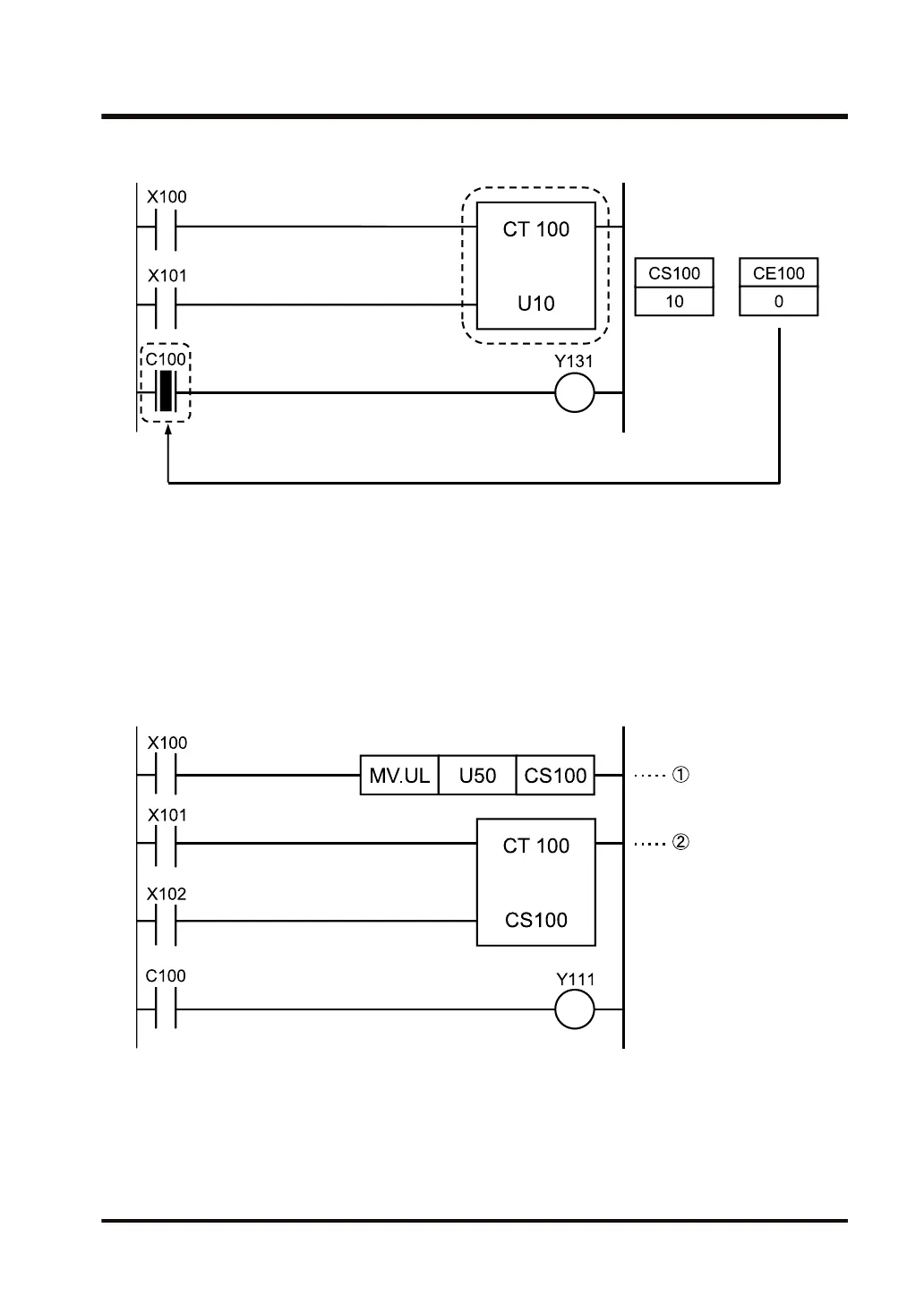
How to specify the set value area number directly to the down counter setting
value
The program described above, which specifies CS100 for the set value, operates as follows.
(1) When the execution condition X100 is ON, the data transfer instruction MV is executed to
start decrementing with U30 set to CS100.
(2) When the count input X101 is ON, decrementing starts from the set value 30.
Be sure to specify the same address as the counter number in [S] for the setting area "CS."
Even when the value in the set value area "CS" is changed while decrementing, the
decrement operation continues with the value before change. The new value will be used for
the counter operation after the counter is reset and the counter input next changes from OFF
to ON.
3.20 CT (Down Counter)
WUME-FP7CPUPGR-12 3-57

Table of Contents

Other manuals for Panasonic FP7 Series

Related product manuals