EasyManua.ls Logo

RFL Electronics RFL 9300 - Tapped Load; Figure 3-18. Typical Tapped Line Application

RFL Electronics RFL 9300
553 pages
Print Icon
To Next Page IconTo Next Page
To Next Page IconTo Next Page
To Previous Page IconTo Previous Page
To Previous Page IconTo Previous Page
Loading...
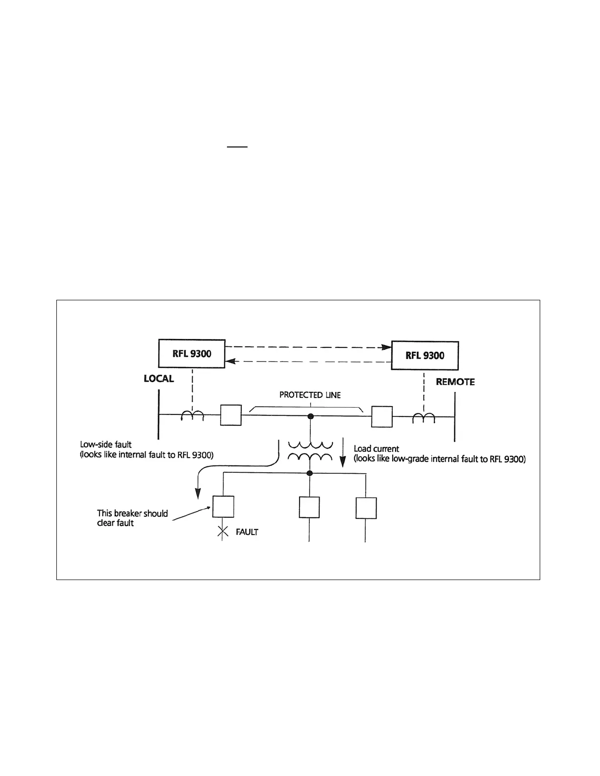
3.14 TAPPED LOAD
Tapped load applications are a concern for all line protection schemes. Sometimes it is easier to apply distance
relays to a tapped line, because the forward-looking relays can sometimes be set "into the bank" without affect-
ing line coverage. In other cases, the application of current differential (or charge comparison) relays is easier.
This is particularly true when the tap is near one terminal on a medium-length or long line. The response of the
current differential system is based on total
fault current. In contrast, the distance relays respond to local infor-
mation only and the distance relays must create a correct trip/no-trip decision at both terminals in permissive
schemes.
A typical tapped-line application is shown in Figure 3-18. Applications such as this present three problems to
the RFL 9300:
1. The load current looks like a low-grade internal fault.
2. Low-side faults look like medium-grade internal faults.
3. Transformer in-rush looks like a low-grade internal fault, particularly when the transformer is energized
by closing a high-side disconnect switch at the tap. If the transformer is energized by closing a circuit
breaker, the bias control function provides security. (See Figure 3-19.)
Figure 3-18. Typical tapped line application
The problem of handling low-side faults is much more severe than that of load current, because transformer
impedance is typically 6 to 10percent. This means that low-side phase faults are at least ten times the magni-
tude of the rated current. The RFL 9300 can be applied to tapped lines by raising the bias level so that the RFL
9300 will not respond to low-side faults. At the same time, the RFL 9300 will still see all internal faults on the
protected line.
RFL 9300 RFL Electronics Inc.
August 25, 2000 3 - 20 (973) 334-3100

Table of Contents