EasyManua.ls Logo

Schweitzer Engineering Laboratories SEL-421-4 - Page 855

Schweitzer Engineering Laboratories SEL-421-4
1518 pages
Print Icon
To Next Page IconTo Next Page
To Next Page IconTo Next Page
To Previous Page IconTo Previous Page
To Previous Page IconTo Previous Page
Loading...
3.37
Date Code 20171006 Instruction Manual SEL-400 Series Relays
Basic Relay Operations
Examining Metering Quantities
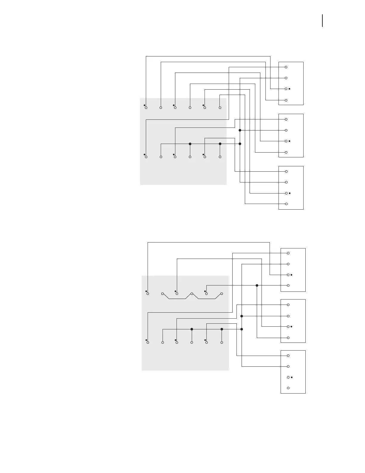
Figure 3.27 Test Connections Using Three Voltage Sources/Three Current Sources
Figure 3.28 Test Connections Using Two Current Sources for Three-Phase
Fau lts and M ETE R Test
Three-Phase
Voltage and Current
Test Sources
IA
VB
IB
VC
IC
VA
IAW
Z01 Z02 Z03 Z04 Z05 Z06
Z13 Z14 Z15 Z16 Z17 Z18
IBW ICW
VAY VBY VCY
Relay Rear-Panel Analog
Voltage and Current Inputs
N
N
N
Three-Phase
Voltage and Current
Test Sources
IAW
Z01 Z02 Z03 Z04 Z05 Z06
Z13 Z14 Z15 Z16 Z17 Z18
IBW ICW
VAY VBY VCY
Relay Rear-Panel Analog
Voltage and Current Inputs
IA
VB
IB
VC
IC
VA
N
N
N

Table of Contents

Related product manuals