EasyManua.ls Logo

MSA SUPREMA - SUPREMA CAN-Bridge CBM; Figure 5-28: Connection CAN-Bridge CBM; Figure 5-29: SUPREMA CAN-Bridge CBM

MSA SUPREMA
387 pages
Print Icon
To Next Page IconTo Next Page
To Next Page IconTo Next Page
To Previous Page IconTo Previous Page
To Previous Page IconTo Previous Page
Loading...
REV 0, June 2005Page 126
Operation Manual SUPREMA
5. Installation
Connection Note:
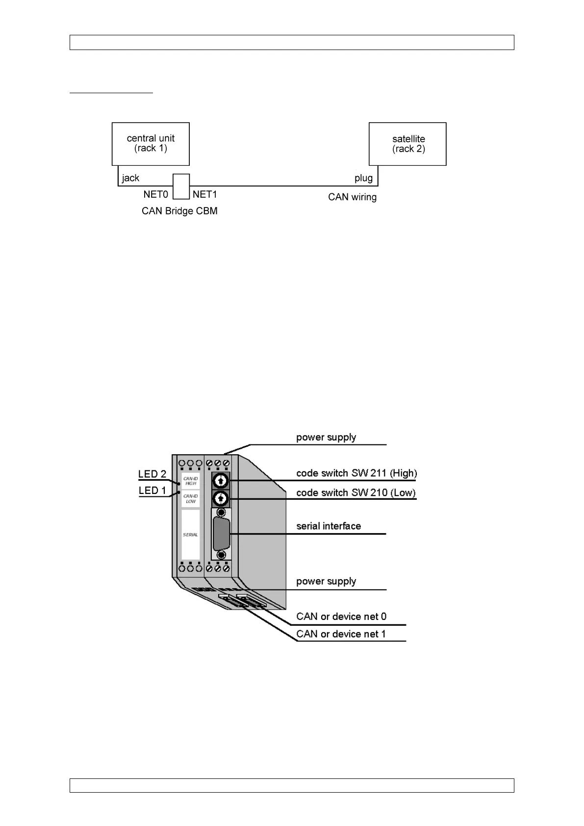
Figure 5-28: Connection CAN-Bridge CBM
The terminating resistor of rack 1 must be deactivated, and a 120 Ohm resistor connected
between terminal 2 and 4, NET 0, of the CAN connection.
A 120 ohms resistor for Net 1 must be connected under the terminal (2 to 4) NET1 of the CAN
connection.
5.5.2.1 SUPREMA CAN-Bridge CBM
If a satellite is operated with a cable length > 20 metres, a SUPREMA CAN BRIDGE CBM must
be provided. It is necessary for galvanic isolation, the matching of bit rates and the filtering of
CAN Identifiers (data reduction).
Figure 5-29: SUPREMA CAN-Bridge CBM
The SUPREMA CAN BRIDGE is supplied with 24V DC (X101). The CAN Bus of the Basic Rack
is connected to NET 0 (X400), and the satellite rack is connected to NET1 (X400) (Exact
connection assignments are to be seen from the CAN Bridge hardware).

Table of Contents

Related product manuals