EasyManua.ls Logo

Panasonic FP7 Series - Page 849

Panasonic FP7 Series
1222 pages
Print Icon
To Next Page IconTo Next Page
To Next Page IconTo Next Page
To Previous Page IconTo Previous Page
To Previous Page IconTo Previous Page
Loading...
U 0
U 0
U 0
U 0
U 0
U 1
U 5
U 1
U 1
U 0
U 0
U 0
DT0
DT1
DT2
DT3
DT4
DT5
DT6
DT7
DT8
DT9
DT10
DT11
H 0 H 0
Higher byte Lower byte
DT100
Processing result ('0' for normal completion)
Communication mode
Unit no. setting
Baud rate setting
Data length setting
Parity setting
Stop bit length setting
RS/CS valid or invalid
Send waiting time
Header STX
Terminator setting
Terminator judgment time
Modem initialization
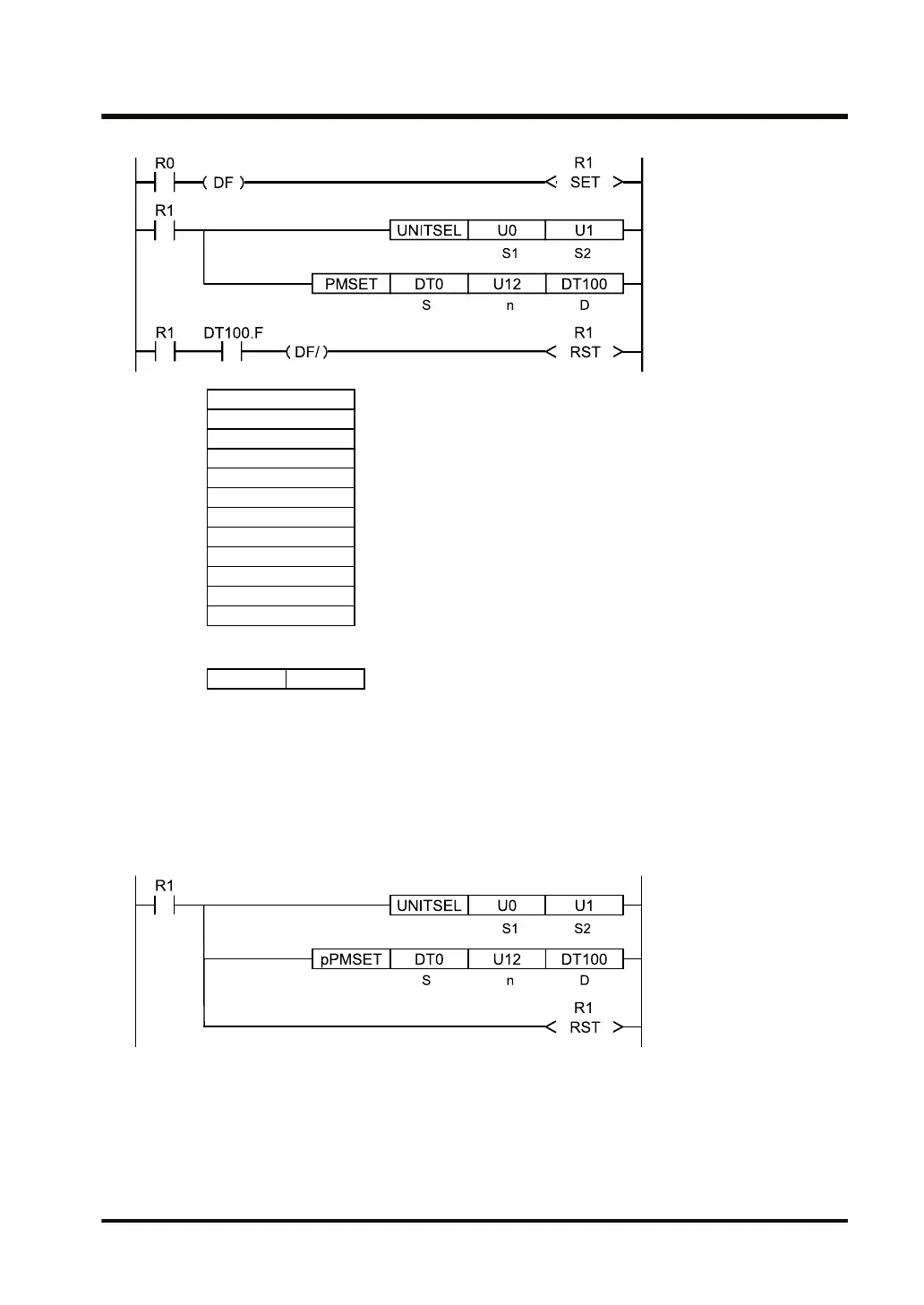
Program example 2 (pPMSET instruction)
This program sets 12 words of communication parameters for COM1 port of CPU with built-
in SCU, which are stored in the area starting with Data Register DT0. The processing result
is stored in DT100.
For the pPMSET instruction, when the execution condition arises, the parameter change
processing is performed only once.
Program example 3 (PMSET instruction, specification by PLC link parameter)
This program sets 26 words of communication parameters for COM1 port of CPU with built-
in SCU, which are stored in the area starting with Data Register DT0. The processing result
is stored in DT100.
15.8 PMSET / pPMSET (Change of SCU Parameters)
WUME-FP7CPUPGR-12 15-55

Table of Contents

Other manuals for Panasonic FP7 Series

Related product manuals