EasyManua.ls Logo

Toyota 22R-E - Pulsed Secondary Air Injection (Pair) System

Toyota 22R-E
625 pages
Print Icon
To Next Page IconTo Next Page
To Next Page IconTo Next Page
To Previous Page IconTo Previous Page
To Previous Page IconTo Previous Page
Loading...
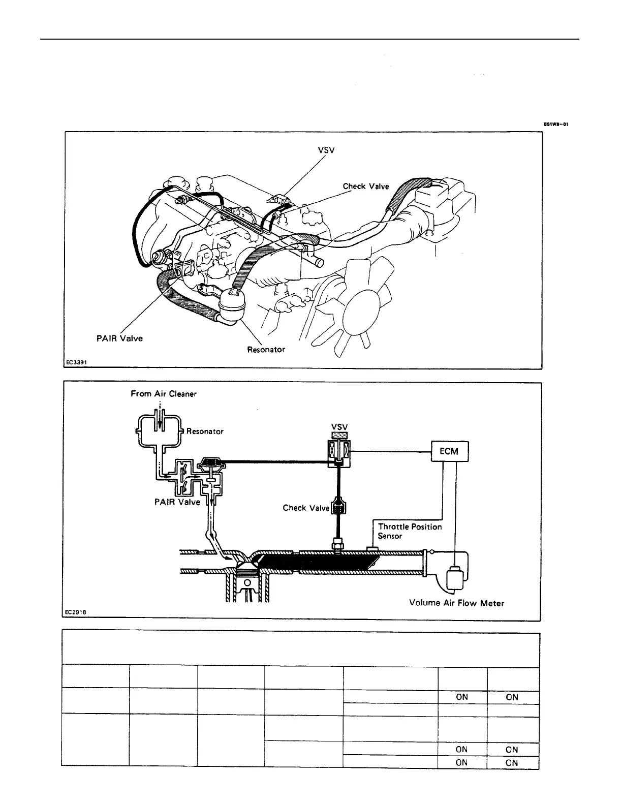
To reduce HC and CO emissions, this system draws in air into exhaust ports to accelerate oxidation, using vacuum
generated by the exhaust pulsation in the exhaust manifold.
PULSED SECONDARY AIR
INJECTION (PAIR) SYSTEM
Below 1,000 rpm
Above 1,000 rpm
Below
4 km/h (2 mph)
Above
4 km/h (2 mph)
Above 40C)
(104F)
Below 30C
(86 F)
Throttle valve
position
Below 3,600 rpm
Below 1,000 rpm
Above 3,600 rpm
Above 1,000 rpm
Coolant Temp.
Vehicle speed
Normal
driving
Deceleration
Engine RPM
Condition
OFF
ON
OFF
ON
Idling
PAIR
OFF
OFF
vsv
ENGINE EMISSION CONTROL SYSTEMS
EG1–96

Table of Contents

Related product manuals